Electronics work on
positive (hot) and negative (ground) forces. As such,
single-voice coil speakers each have a positive and
negative terminal; the cable that plugs into a
cabinet also uses a positive and negative connection;
the jacks that are on the amplifier also have
individual positive and negative connections. The
circuitry running within the amplifier has various
positive and negative connections.
Now, if we take a single 8 ohm speaker and attach it
to another 8 ohm speaker, we can actually hook it up
so that its resistance in ohms can be one of two
ratings. If we wire the positive and negative
terminals of each speaker together, this is called a
parallel connection. Parallel connections reduce
overall resistance, and as such the ohms rating
would be halved to four ohms. What if we add another
pair of 8 ohm speakers to the first pair and wire
them all together the same way? The second pair of 8
ohm speakers would be of course halved to four ohms.
Then, when we wire the resulting two 4 ohm pairs
together, this would of course bring the overall
final resistance to 2 ohms.
Now what about that "other" way to wire the
original pair of 8 ohm speakers to get a different
resistance rating? If we take the negative terminal
of the first speaker and run it to the positive
terminal of the second speaker, then use the positive
of the first speaker and the negative of the second
speaker as the primary connection back to the
amplifier, weve then created a series
connection. Series increases overall resistance and
so our ohms rating when both 8 ohm speakers are run
in this fashion is doubled to 16 ohms. If you add
another pair of 8 ohm speakers in series to the
series "chain", youll effectively
create a 32 ohm load.
Typical Marshall
cabinets run four 16 ohm speakers, so how can the
overall resistance of the cabinet remain at 16 ohms
using either series or parallel wiring? The answer is
that it cannot, so a combination scheme called
series/parallel is used. We can wire the four 16 ohm
cabinets in different ways to get the same 16 ohm
result using series/parallel.
One way is to first
wire each pair of 16 ohm speakers in series to create
two 32 ohm pairs. Then, when we combine the two pairs
together in parallel to create the final speaker
load, a 16 ohm set results. Alternately, we can first
wire each pair of 16 ohm speakers in parallel, and
create two 8 ohm pairs. Then we can wire the two 8
ohm connections in series to again bring the overall
impedance to 16 ohms. There is no "better"
way to do the wiring in this instance, either method
will produce the same result and sound the same. Take
a look at the various diagrams to visually see how
series, parallel, and series/parallel connections are
made.
When running anything
in series (whether it's the lightbulbs on a Christmas
tree or speakers), if even one part of the chain
fails or a single connection is lost, the entire
chain itself will not function. This is important to
consider when troubleshooting speakers or when
building a system and deciding what types of speakers
to use. All other things equal, if you're building a
single cabinet for example with a pair of speakers
that need to operate at 8 ohms, it's best to use two
16 ohm speakers wired in parallel, rather than two 4
ohm speakers run in series. If one of the speakers
fails or a connection is lost in the parallel wired
setup, the other speaker will continue to function.
This will at least get you through the gig!
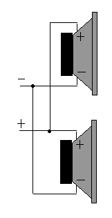
Series
Wiring of Two Identical Speakers
 |
This wiring is often
used with two 4 ohm speakers (bringing the
total system impedance to 8 ohms).
Series Wiring of Two
Identical Speakers
|
| |
For 8 ohm
speakers
|
For 4 ohm
speakers
|
| System
Impedance |
16 Ohms
|
8 Ohms
|
| System Power
Capacity |
Twice any one speaker
|
Twice any one speaker
|
|
One
thing to keep in mind with this wiring configuration:
if one speaker blows (resulting in an open circuit),
the second speaker will go silent (like the old
Christmas lights - "if one goes out, they all go
out").
Parallel
Wiring of Two Identical Speakers
 |
This wiring is often
used with two 8 ohm speakers (bringing the
total system impedance to 4 ohms).
Parallel Wiring of
Two Identical Speakers
|
| |
For 8 ohm speakers
|
For 4 ohm speakers
|
| System
Impedance |
4 Ohms
|
2 Ohms
|
| System Power
Capacity |
Twice any one speaker
|
Twice any one speaker
|
|
Parallel
Wiring of Four Identical Speakers
 |
This wiring may be used
with four 8 ohm speakers (bringing the total
system impedance to 2 ohms).
Parallel Wiring of
Four Identical Speakers
|
| |
For 8 ohm speakers
|
For 4 ohm speakers
|
| System
Impedance |
2 Ohms
|
1 Ohm
|
| System Power
Capacity |
4x any one speaker
|
4x any one speaker
|
|
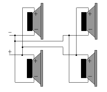
Series/Parallel
Wiring of Four Identical Speakers
 |
This wiring may be used with any
4 identical speakers and the total system
impedance is the same as that of a single
speaker!
Series/Parallel
Wiring of Four Identical Speakers
|
| |
For 8 ohm speakers
|
For 4 ohm speakers
|
| System
Impedance |
8 Ohms
|
4 Ohms
|
| System Power
Capacity |
4x any one speaker
|
4x any one speaker
|
|