Site hosted by Angelfire.com: Build your free website today!
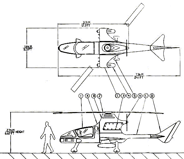
Airscout Autogyro

Crew: 2
Length: 3.71m
Width: 1.64m
Rotor Diameter: 7.01m
Height: 2.34m
Weight (empty): 250kg
w/armament: 313kg
Max Takeoff Weight: 510kg
Max Speed: 185kph
Cruising Speed: 145kph
Minimum Speed: 24kph
Max Climb: 213m/min
Service Ceiling: 4,265m
Takeoff Run: 61m
Landing Run: 0-6m
Range: 1,800km
Armament: 2 Stoner fixed Machineguns (M207)
4X 2.75inch Rockets (16 stored in trailer)
Ammunition: 800rds per gun

This is a very small aircraft known as a gyrocopter. The helicopter-like rotating blades are powered only for takeoff and the craft cannot hover unless it is facing a 25 kph wind. It is used for scouting and is lightly armed for it's own defense. The aircraft breaks down into 6 small (man-portable) packages and is carried broken down in each of the Scientific-One vehicles. The crew normally consists of a pilot/gunner and an observer. The range is only limited by the strain on the rotors and airframe as the vehicle is fusion powered. After the maximum range is reached, or the craft has flown for more than 12 hours, a full lubrication and maintenance is required that takes about 2 hours to do properly.