Site hosted by Angelfire.com: Build your free website today!
Go:  Back Home Foreword Patents





Both of the drive systems shown are
Solid State Electromagnetic, and Electromotive.
The earliest work on electromotive force,
for use in a drive system, was done by
Thomas Townsend Brown. He was a physicist,
who discovered that a transducer would lose weight
when charged with a significant direct current.
He patented a number of inventions based on his discovery.
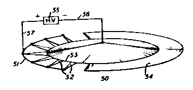
One of the drawings for his first invention is shown in appendix A.
This drawing shows his Electrokenetic Transducer
tethered to a center hub that provides power to the transducer.
One can easily imagine what this device could do
if the power supply were shrunken in size and placed within the disk.
If charge could be controlled, and moved about the disk,
the disk could change direction as fast as flipping a switch.

All of the information about this invention is covered in other books
so I won't go into this system however it serves to date
the field of science from which the other drive systems originated.
Only a negligible amount of the ships mass is converted into
energy to power the drive systems described in this book,
making them the most efficient systems possible with existing technology.
The speeds possible with both systems is approaching that of LIGHT.
Both systems can approach the 90+% efficiency
level required for long continued use, as in interstellar flights.
Compare this to conventional rockets
they only achieve flight efficiencies of around 30%,
and speeds of only 500 to 600kps.
This means that a flight to Mars would take a conventional rocket 6 to 9 months,
depending on orbital intersection, and cost millions of dollars
and using dangerous cryogenic fuels
that are difficult to maintain in storage.

With the Electromagnetic Energy Propulsion System,
invented by James Taylor,
this same flight would take only 45 minutes to 1 and 1/2 hours,
the same amount of time as some of us take to commute to and from work.
The Taylor Drive would only convert a small portion
of it's atomic pile into energy to power the flight.
So when the next multibillion dollar defense bill comes up,
tell your law makers you want that money for their old,
antiquated rocket systems to be diverted into solid state drive systems
that are already in the patent office.
Mass production of these systems will inevitably
bring the cost down on all future spacecraft
and defense aerospace appropriations.
Art by Ben Green.
Art by Ben Green

I feel it's criminal that this technology has not been widely exploited.
In fact, I believe that some of them are being exploited
secretly by our own government. The super secret project
to find a replacement for the aging SR-71 Blackbird,
originally given the code name "Aurora" in a house appropriations bill.
This project was funded with 460 million dollars in 1981,
just 1 year after James Cox disclosed his discovery
of the dipolar force field propulsion system
in his paper entitled Electromagnetic Propulsion Without Ionization
at the ATAA/SAE/ASME 16th Joint Propulsion Conference in Hartford, Conn.
If you look at patent # 4,663,932 (sheet 6 of 16)
in the art you might notice the resemblance of his discoid designed craft
to some of the artist renderings of the Aurora Spy craft.
This I feel is no accident. Consider this, if the government knew of this patent,
wouldn't they want to use the Dipolar Propulsion System
as the means of propulsion for their new spy craft?
This would give them a distinct advantage over conventional rocket powered interceptors.
This system has the added advantage of radar invisibility.
This advantage was also disclosed at this same 16th Joint Propulsion Conference,
These conferences are crammed with government contract engineers.
Since this concept dates back to the early 1980's,
and the Government took 5 years to award the inventor his patent,
What do you suppose the government did with this man's invention
(in the Interest of National Security of course) during those 5 years?
After all, consider the advances in aircraft in the few years of WW 2.
How long would it take to go to full production of a design invented 17 years ago?
These ships could be into their 3rd or 4th generation by now.
If we were allowed a look inside Area*51,
maybe we would find that the alien technology inside
was actually human designed and funded by taxpayer money,
only to be secreted away where
we can't obtain any value from this significant advantage.

There is one other issue that I wonder about...
The assignee of the T.T.Brown patent was
the Whitehall-Rand Corp., Washington D.C..
Do You suppose this is the same Rand Corp.
that does all this government research work?
Do you suppose this is the same Whitehall Corp.
that has a contract with the government for an all
electric high altitude research craft that also goes
by the name "Aurora"?
The Whitehall-Rand Corp. is no longer on the books.
Now, isn't all this an interesting coincidence?


nextCLR.gif