Topics Include :-
- Birkeland Currents - Force-free Filaments
- The Galactic Circuit
- Peratt's Computer Simulation of Galaxy Formation
Birkeland Currents - Force-free Filaments
"Jehovih rolleth up the heavens, and braideth the serpents of the firmament into His cyclic coil."
13.1. The Light of Jehovih now spread over etherea, extending from the Orian Banks of Loo-che-wan ... were like seas and worlds of crystal fire. And in the piercing light, the old-time Gods, of millions of years ago, sped forth in awesome majesty, in answer to the prayers of Cpenta-armij.
13.2. And over the earth and her heavens, farther than Chinvat [boundary of the earth's vortex], rose a trident arc, broad as a world; of shimmering light from the countless rays of ethe, like mortals see the glimmering air on a summer‘s day; but the ethe was of every color, hue and tint, reflective and brilliant, the clear soul of things separate. It was the beginning of the form of the arc of Spe-ta, the deliverance of the earth and her heavens into a new condition; ratified by the ceremony of a festival for the Gods and Goddesses within the neighborhood of hundreds of millions of miles around!
13.3 Meanwhile, Cpenta-armij was down on the low earth, laying the cornerstone for Jehovih‘s everlasting kingdom, on which would fall from the arc of Spe-ta, a shaft of fire, the feast for the purified Chieftainess, who had for four years subsisted on the coarse provender of the lower heavens ...
13.5. Then the Chieftainess signaled her swift messengers; and they touched the currents along, till they ran high beyond the earth‘s vortex, where the stationed Gods of etherea fastened on the ethe‘ic wave, extending to the great arc over all.
13.6. It was the signal for the shaft of light; of which mortals have a coarse symbol in the electric currents which tear things meaninglessly and without judgment; but the ethe‘ic current is not so small and purposeless, but mighty, being a tool from Jehovih‘s fountain of All Power, and learnedly directed with skill by high-raised angels who have had millions of years of experience.
13.7. And Cpenta-armij‘s well-trained thought, so tuned to the Creator‘s purpose, kept ever in concert both with the ethe‘ic foundation of each place and with the administration of thousands of Gods and Goddesses.
13.8. And when the signal shot upward, and from beyond Chinvat the shaft of light began to pierce the earth‘s vortex. As Cpenta-armij, standing by her ship, saw the shaft descending, she flew forth to the center of the circle; her hand pointing to the graves, she said: There, O Jehovih! Come forth, O earth! It is I who commands!
13.10. And down fell the bolt of light, piercing the newly disturbed ground, made rich with mortal tears, and thus made powerful to the soul current; and as a breath of wind would move a heap of feathers, so did the light, by the wave of Cpenta-armij‘s hand, blow the earth away, and lift up the buried forms of two dead lovers, Brahma and Yu-tiv, and marched them in their unspoiled and newly animated bodies before the mortal audience, together, lovingly, hand in hand, triumphant over death.
Cpenta-armij seized the folds of the shaft of light, as a mortal would the ropes and canvas of a toy ship, and wrapping it securely around the earthly part of Brahma and Yu-tiv, then wheeled in line her own ship and raked in the etherean current from high heavens.
13.13. Tossing up her hand, the prearranged signal to the great workers in the trident arc above, the exchanging currents of the traveling flame began, and raised up all the etherean hosts along with the bodies of Brahma and Yu-tiv, which had not raised a mile before they were etherealized, scattered and gone.
In the arc of light and companionship of her compeers, the feast was open, and the billions in rapport sat along the series of tables, hundreds of millions of miles, to relish soul food brought from more than a thousand worlds.
Book of Cpenta-armij
What is the vortexian power that forms astronomical bodies? The universal power of creation, the vortex, can be mathematically expressed as a force-free filament, or Birkeland current in Plasma Cosmology. Because plasmas are good conductors, they are equivalent to wires in their ability to carry electrical current. If any conductor cuts through a magnetic field, a current will be caused to flow in that conductor. This is how electric generators and alternators work. Therefore, if there is any relative motion between a cosmic plasma, say in the arm of a galaxy, and a magnetic field in that same location, Birkeland currents will flow in the plasma. These currents will, in turn, produce their own magnetic fields.
During the late 1800's in Norway, physicist Kristian Birkeland explained that the reason we could see the auroras was that they were plasmas. Birkeland also discovered the twisted corkscrew shaped paths taken by electric currents when they exist in plasmas. Sometimes those twisted shapes are visible and sometimes not - it depends on the strength of the current density being carried by the plasma. Today these streams of ions and electrons are called Birkeland Currents. The mysterious sprites, elves, and blue jets associated with electrical storms on Earth are examples of Birkeland currents in the plasma of our upper atmosphere. In the early 20th century, Nobel laureat Irving Langmuir first used the name 'plasma' to describe the almost lifelike, self-organizing behavior of these ionized gas clouds in the presence of electrical currents and magnetic fields.
An electron circles around a magnetic line of force
In the presence of a magnetic field, the motion of plasmas will form filamentary structures.
Plasma ions (negatively charged electrons, and positively charged atoms) must assume the form of a filament to flow through the plasma exactly along the magnetic field lines. In this way the current follows the path of least resistance with no magnetic forces acting on it, and the current is said to be 'force free".
Two currents moving along parallel lines of force will create magnetic fields that pull the two curents together
When two wires or conductors with currents flowing in the same direction are brought near each other they will attract. A current creates a cylindrical magnetic field, which attracts other currents flowing in same direction, which merge and grow into bigger currents. Given time, currents and filaments of any magnitude can form.
As each small current, moving along the lines of the background field tries to move across the field lines to its neighbour, it is drawn into a spiral, where it contributes its energy to the larger pattern of the filament, much as wisps of cotton are spun together and twirled into a single thread.
Two filaments of high current will 'pinch' together, compressing between them any material (ionised or not) and twist into a plasma rope that takes on the corkscrew shape discovered by Birkeland. This is called the "z-pinch" effect. The ability of Birkeland currents to accrete and compress even non-ionized material is called "Marklund convection".
The term z-pinch comes from the representation of a current flowing along the z-axis parallel to the magnetic field.
In a Z-pinch system plasma is produced by applying a high voltage pulse across an anode-cathode gap of cylindrical geometry that is pre-filled with gas. The plasma is imploded by the magnetic field produced by the axially flowing discharge current. During compression and stagnation the kinetic energy is converted to thermal energy and radiation and a hot, dense core is formed at the center. With a strong enough current, the plasma formed by the discharge electromagnetically pinches into a string of sausages, donuts and plasma instabilities along the z-axis.
A force free filament. Current and plasma flow along helical magnetic field lines that are straighter toward the center.
Pinch filaments are vortices of current - plasma whirlwinds.
In a force free filament the electrons cooperate to minimise the difficulty of flowing. Those along the centre of a filament flow in straight lines producing a spiral magnetic field along which outer electrons can flow. Outer electrons in turn produce the straight magnetic field lines along the axis along which inner electrons flow. Together, electrons move in a complex pattern of helical paths with increasingly steep pitch as they approach the filament axis.
The magnetic force of a plasma thread increases with the velocity of the plasma. This leads to a feedback effect: as threads are pulled into the vortex they move faster, which increases the force on the threads of the current and pulls them still faster into the filament. A contracting mass tends to spin faster (like an ice skater that pulls in her arms). This generates a centrifugal force that fights the contraction. Magnetic filaments can carry away this angular momentum, allowing further contraction, while gravity cannot.
When two Birkeland currents are parallel they experience a long range attractive force that brings them closer together, or pinches them. When they get very close, a short range repulsive force holds them apart so that they maintain their identity. The result is that separate Birkeland current filaments come together to form pairs and the pairs form a twisted, filamentary "rope" of electric current in space. Plasma physicists have shown that Birkeland currents can remain coherent even over vast intergalactic distances.
Filaments sweeping through a proto galactic nebula pinch plasma into building materials of stars. Force free filaments, pinched together from currents flowing towards the centre of the galaxy can initiate star formation. Vortex motion of the filament will provide angular momentum to smaller agglomerates within it, generating a new, smaller set of currents carrying filaments and a new cycle of compression that forms a solar system.
Larger filaments can similarly pinch together vast clouds of plasma to initiate galaxy formation. Galaxies are created by vaster filaments that provide the magnetic fields that drive galaxies to generate currents. Galaxies are strung along filaments, groups of which organise into larger ropes.
Evidence for the existence of supercluster-sized Birkeland currents came from the discovery of a faint supercluster-scale radio emission stretching through the reaches of intergalactic space between the Coma cluster of galaxies and the Abell 1367 cluster.
In 1989 the rotation axis of all the stars in a given cloud were observed to be aligned with the cloud's magnetic field. Clearly a magnetic field controlled stellar formation.
In 1984 Farhad Yusef-Zadeh discovered a galactic-scale Birkeland current hundreds of light years long at the heart of the Milky Way. An outer layer of spiralling helixes and an inner layer running almost straight along the axis of a cylinder, the whole pattern arcing out of the plane of the galaxy, straight up into the axis of rotation
Are Magnetospheres Double layers?
One property of plasma is its ability to "self-organize" - that is, to electrically isolate one section of itself from another. Charged bodies embedded in plasma create about themselves a protective cocoon of plasma, like a living cell wall. This isolating cell wall is known as a Langmuir plasma sheath, or ‘double layer’ (DL).
When a plasma is studied in the lab it is contained in a closed cylindrical glass tube. Electrodes are inserted into the ends of the tube - one electrode (called the anode) is maintained at a higher voltage than the electrode at the other end (the cathode). If such a voltage difference is applied, then ionization will be initiated and current will start to flow through the plasma. Positive ions will migrate away from the anode, and negative ions will move toward the anode. The sum of these two oppositely directed flows constitutes the total current.
If the voltage difference from one electrode to the other becomes large enough, a DL will form in a narrow cross-section somewhere in the middle of the tube. Almost all the voltage drop that is applied across the electrodes will fall across this DL. The plasma on one side of the DL (the side toward the anode) will have approximately the same voltage as the anode. The plasma on the cathode side of the DL will have essentially the same voltage as the cathode. The two halves of the plasma are then electrically isolated from one another by the DL. The total electric current, however, is the same throughout the plasma (on both sides of the DL). Plasmas are excellent conductors and therefore there will not be a significant voltage drop across them while they are carrying current, whereas the DL that 'takes' most of any externally applied voltage. Hence the DL is where the strongest electric fields in the plasma will be found.
If a foreign object is inserted into a plasma, a DL will form around it, shielding it from the main plasma. This effect makes it difficult to insert voltage sensing probes into a plasma in order to measure the electric potential at a specific location. This is a well known property of plasmas. Various methods have been developed in the laboratory to overcome it.
In space, it is impossible to send a spacecraft to measure the voltage of the solar plasma at some point. Voltage is a relative measure (like velocity, for example); it must be measured with respect to some datum. A spacecraft will start out having the same voltage as the surface of Earth. As it penetrates the plasmasphere and enters the solar plasma it will slowly accumulate charge and thus alter its voltage. The strength of an electric field, however, can be measured in space.
Only an electric current sustains the charge separation across the double layer. If the surrounding plasma is moving relative to the charged body, the plasma sheath is drawn out into a teardrop or cometary shape. And if the charged body is rotating it will generate a magnetic field that is trapped inside the plasma sheath. A magnetosphere is taken to be a plasma sheath by Electric Universe (EU) proponents. They also say double layers are responsible for the radio noise from ‘radio’ galaxies, and produce the cosmic microwave radiation.
An electric discharge in plasma creates a tube-like magnetic sheath along its axis. If enough current flows through the circuit, the discharge will cause the sheath to glow, sometimes creating a number of other sheaths within it. The sheath is called a “double layer.” Double layers form when positive charges build up in one region of a plasma cloud and negative charges build up nearby. A powerful electric field appears between the two regions, which accelerates charged particles. The electric charges spiral in the magnetic fields, emitting x-rays, extreme ultraviolet, and sometimes gamma rays. Alfvén suggested that X-ray and gamma ray bursts may be due to exploding double layers.
When the source of a magnetic field is cut off, it collapses suddenly, releasing it's stored energy in a burst. Double layers are charged gaps in plasma. They permit stored energy to be suddenly released in a small space.
Plasmas in the lab form cellular structures separated by double layers. Everywhere probes have been sent in the solar system, cellular structures separated by double layers have been found. These structures include magnetospheres, magnetotails, bow shocks, comet heads and tails.
Comparison of a flame to a Double layer
A flame is an exothermic, self-sustaining, oxidizing chemical reaction producing energy and glowing hot matter, of which a very small portion is plasma. It consists of reacting gases and solids emitting visible and infrared light, the frequency spectrum of which depends on the chemical composition of the burning elements and intermediate reaction products. The color of a flame depends on temperature. For a forest fire, near the ground the fire is white or yellow, above the yellow region, the color changes to orange, which is cooler, then red, which is cooler still. Above the red region, combustion no longer occurs, and the uncombusted carbon particles are visible as black smoke.
The distribution of a flame depends on convection, as soot tends to rise to the top of a general flame, as in a candle, making it yellow. In zero gravity, such as in outer space, convection no longer occurs, and the flame becomes spherical, with a tendency to become more blue and more efficient although it will go out if not moved as the CO2 does not disperse. A possible explanation is that the temperature is evenly distributed enough that soot is not formed and complete combustion occurs.
Lightning is an example of plasma. Typically, lightning discharges 30,000 amperes, at up to 100 million volts, and emits light, radio waves, x-rays and even gamma rays. Plasma temperatures in lightning can approach ~27,700°C and electron densities may exceed 1024/m³.
The Galactic Circuit
Figure 5: spiral galaxy showing suns along the spiral arms
In the 1970s a study of the rotation speed of gas in galaxies found that the total visible mass (from the stars and gas) does not account for the speed of the rotating gas. This galaxy rotation problem is thought to be explained by the presence of large quantities of unseen dark matter.
Like the stars, the spiral arms also rotate around the center, but they do so with constant angular velocity. That means that stars pass in and out of spiral arms, with stars near the galactic core orbiting faster than the arms are moving while stars near the outer parts of the galaxy typically orbit more slowly than the arms. The spiral arms are thought to be areas of high density matter, or "density waves". As stars move through an arm, the velocity of each stellar system is modified by the gravitational force of the higher density. (The velocity returns to normal after the stars depart on the other side of the arm.)
A majority of spiral galaxies have a linear, bar-shaped band of stars that extends outward to either side of the core, then merges into the spiral arm structure.
Many barred spiral galaxies are active. That is, a significant portion of the total energy output from the galaxy is emitted by a source other than the stars, dust and interstellar medium.
The standard model for an active galactic nucleus is based upon an accretion disc that forms around a supermassive black hole at the core region. The radiation from an active galactic nucleus results from the gravitational energy of matter as it falls toward the black hole from the disc.
In about 10% of these objects, a diametrically opposed pair of energetic jets ejects particles from the core at velocities close to the speed of light. The mechanism for producing these jets is still not well understood.
Active galaxies that emit high-energy radiation in the form of x-rays are classified as Seyfert galaxies or quasars, depending on the luminosity. Blazars are believed to be an active galaxy with a relativistic jet that is pointed in the direction of the Earth. A radio galaxy emits radio frequencies from relativistic jets.
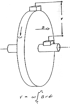
Figure 3: Principle of a homopolar generator
Galactic plasma in an electrified cosmos takes the form of twisted current ropes following the spiral arms of our galaxy. The evidence for their existence and their magnitude comes from maps of the galactic magnetic field.
Vortices can be likened to a motor turning electricity into motion. A galaxy works as a generator turning its motion into electricity.
This is demonstrated by Faraday's Disk Generator (homopolar or unipolar generator).
An electric current is produced between the axis and the circumference when it is rotated in a magnetic field. Stars and galaxies operate by this principle. If we have motion, a magnetic field and a conductor then we have all the elements required to make up a generator.
A homopolar motor is driven by magnetic fields induced in a circular conductive metal plate. The metal plate is placed between the poles of an electromagnet that causes it to spin at a steady rate proportional to the input current.
Planetary Faraday disk motor.
Everything in the Universe rotates. Clockwise or anti-clockwise depending on the direction of the current flow.
Increasing electric current input to stars results in increasing maximum rotational speeds.
Galaxies exist within an inconceivably large filamentary circuit of electricity that flows through the cosmos. Filaments exist everywhere: from collimated “jets” of x-rays that erupt from the axes of galaxies (and stars), to the cosmic “strings” of superclusters that make-up the large-scale structure of the universe. There is no way to know where this current flow rises, or to what electrode it is attracted, but we see the effects of its electromagnetic fields in the magnetism and synchrotron radiation that permeate space. That electricity organizes itself within fields of plasma that are sometimes larger than galaxy clusters. The plasma is composed of neutral atoms, but a small fraction of electrons, protons and other charged particles are also present. Those particles, and the charge-neutral ones they sweep along with them, are driven by the larger electromagnetic field to form “pinches” of matter.
Plasma isolates its charges within “double-layers” folded inside helical tubes called Birkeland currents. As the currents propagate, their mutual attraction causes them to “pinch” into tighter and tighter helices.
Combined visible and infrared images of M104 (Sombrero Galaxy)
The Sombrero Galaxy (M104) is actually much larger than what can be seen in the image left. The galaxy is surrounded by a halo of stars, dust and gas. Shorter time exposures reveal distinct spiral arms radiating from the center and it is referred to as a “spiral galaxy” by astronomers. M104 is surrounded by globular clusters in the hundreds – a much richer population than our own Milky Way or most other observed galactic bulges.
The clusters that formed in the pinch zones of Birkeland current strands around M104 show it to be extremely active. The large number of clusters and a distinct “homopolar disk” are a sign of electrical activity.
A galaxy acts as a disk generator spinning in a magnetic field of intergalactic space. The galaxy rotating around in the field generates powerful electrical fields and potentials, forming a system of filamentary currents along the plane of the galaxy which snake inward to the galactic centre and up along its axis.
The huge electric current produced flows inwards on the plane of the galaxy along the filamentary spiral arms towards the centre of the galaxy where it turns and flows out along the axis of rotation.
15. The positive force of the vortex is from the external toward the internal; and the negative force of the vortex is toward the poles, and in the ascendant toward the pole external from the sun centre.
16. ... the force of the vortex is toward its own centre, but turneth at the centre and escapeth outward at the north pole. As one may draw a line from the east to the centre of the earth, and then in a right angle due north, this would represent the current of the vortex which causes the center to be filled with a corporeal body. After which the same power applies, and is all one power, although, for convenience, is called positive and negative.
The galaxy acts as a disk generator, spinning in an intergalactic field. Currents flow inward on the plane of the galaxy, along the spiral arms, and out along the axis of rotation.
The discharge theory of C. Bruce introduced circular magnetic fields in and around the spiral arms from its initiation in 1941.
This galactic current then short circuits, driving vast amounts of energy into the galactic core. The galaxy blows a fuse: powerful electric fields created in the nucleus accelerate jets of electrons and ions out along the axis (left).
Mechanisms utilised by the universe comprise double layers for electromagnetic acceleration of particles, homopolar generation of large scale electric fields, large scale currents and magnetic fields and current carrying plasma.
In 1979 Voyager, cruising past Jupiter and later Saturn and Uranus, found: -
Double layers, Huge homopolar generators, Filamentary currents and twisting plasma vortices.
A computer simulation of the sheet of electrical current (dashed lines) produceed by rotation of Jupiter's magnetic field (arching lines).
Quasars radiate 10 thousand times more energy than a galaxy, yet they are only one light year across [an average galaxy is 100,000 light years]. Their power density is a million trillion times larger than a galaxy.
Radio galaxies and quasars can also be explained as acting as generators with double layers to accelerate the beams.
Galaxy currents can be a billion billion amps, compared to a few billion amps for a solar system. In the sun the sudden release of stored magnetic energy in a double layer is 10^34 ergs whereas in a galaxy it is 10^57 ergs.
In 1978 radio maps revealed that a radio galaxy's nucleus emits a narrow beam of energy, which connect to outlying radio lobes. A lobe is believed to consist of material ejected from the nucleus of a galaxy and transported to intergalactic space along the jet. In 1980 the new VLA (very large array) radio telescope in New Mexico revealed that the same jets emanate from quasar hearts.
[Radio galaxies have a compact radio nucleus, a pair of opposed jets emerging from the nucleus, and a pair of lobes far outside the visible confines of the galaxy. A lobe is a bright diffuse area of radio emission (synchrotron radiation) seen on one or both sides of a radio (or other active) galaxy nucleus. Synchrotron radiation is electromagnetic radiation emitted by charged particles moving in a magnetic field at near to the speed of light velocity. Its source includes pulsars, supernova remnants, and our galaxy.]
Scaled up heliospheric circuit with the sun replaced by a galaxy located almost exactly between the radio emission sources. The radio emission is attributed to synchrotron emission by electrons accelerated in the double layers.
Hannes Alfven proposed this diagram (left) in 1981 It shows a vertical cross section of a galaxy. The horizontal line at the center of the diagram represents a circular disk lying in the horizontal plane. When viewed from above, this disk has a spiral galaxy shape. The parallel vertical lines along the galaxy's axis of rotation represent the strong plasma current sometimes visible as a jet.
Double Layers (DL) within the jet plasma contain strong electric fields that are the source of radio frequency emissions. The presence of DLs cause the typical "double radio source" that is observed in many galaxies (shown left of the diagram).
[Compare this diagram to The Electric Universe model of the sun's magnetic field lines.]
Right: Plasma from the sun (wavy surface) moves across the earth's magnetic field (faint meridional lines shown top right). At the equator, protons in the plasma are forced back to the west and electrons east (to the right). The electrons then flow back to the west along the magnetic field lines. First going near the poles where they descend to the ionosphere creating the aurora. Then they flow through the ionosphere to the west and back to the equator (along the field lines to the left)
Stars behave as electrodes in a galactic glow discharge.
A proto-planetary disk rotating around in the sun's magnetic field would generate powerful electrical fields and potentials, forming a system of filamentary currents along the plane of the ecliptic which would snake inward to the sun's centre and up along its axis
The Aurora is explained by a similar effect using the Earth's magnetic field, flow of solar particles and the earth's plasma.
A stream of solar particles reaches the earth's magnetic field. An electrical potential results, moving protons to the west and electrons to the east. To complete the circuit electrons move along magnetic field lines (spiralling along the lines). To get from east to west they flow down the ionosphere lines, through the ionosphere (where they are seen as the coloured light) to the west, then back to the equator along field lines on the other side.
Peratt's Simulation of Galaxy Formation.
Dutch astronomer Jan Oort assumed (in the 1930's) that by observing the Doppler red-shift values of stars moving near the plane of our galaxy he could calculate how fast the stars were moving. Since the galaxy was not flying apart, he reasoned that there must be enough matter inside the galaxy such that the central gravitational force was strong enough to keep the stars from escaping, much as the Sun's gravitational pull keeps a planet in its orbit. But when the calculation was made, it turned out that there was not enough mass in the galaxy. And the discrepancy was not small; the galaxy had to be at least twice as massive as the sum of the mass of all its visible components combined.
Rotation curve of a typical spiral galaxy: predicted (A) and observed (B). The distance is from the galactic core.
In the 1960's the radial profile of the tangential velocity of stars in their orbits around the galactic center as a function of their distance from that center was measured. It was found that typically, once we get away from the galactic center all the stars travel with the same velocity independent of their distance out from the galactic center. (See the figure below.) Usually, as is the case with our solar system, the farther out an object is, the slower it travels in its orbit.
The Lorentz force law explains the mysterious stellar velocities described above. It is given as:
F = d/dt(mv) = q(E + v x B)
It says that a moving charged particle's momentum (direction) can be changed by application of either an electric field, E, or a magnetic field, B, or both.
The change in a charged particle's momentum (left hand side of the equation) is directly proportional to the strength of the magnetic field, B, the particle is moving through. The strength of the magnetic field produced by a cosmic sized Birkeland current falls off inversely as the first power of the distance from the current. Both electrostatic and gravitational forces fall off inversely as the square of the distance. This inherent difference in the spatial distribution of electromagnetic forces as compared to gravitational forces may be the cause of the inexplicable velocity profiles exhibited by galaxies.
To clarify this, stars are formed in an electrical Z-pinch at the intersection of cosmic Birkeland current filaments. The electromagnetic scavenging effect of these entwined Birkeland filaments falls off slowly with distance from their linear axis. Gravity falls off much more rapidly — with the square of the radial distance from a central mass. Electric stars are formed in a linear group and provided with an initial spin by the rotary electromagnetic forces inherent in the plasma Z-pinch. In the laboratory, as the Z-pinch decays, the plasmoids (stars) “scatter like buckshot.” However stellar axial alignments may remain as a signature of their common birth. Stars remain attached to their electrical umbilical cords and draw their power from them. The magnetic fields detected by radio telescopes trace the cosmic circuitry.
Electrical engineer Dr. Anthony L. Peratt, using Maxwell's and Lorentz's equations, has shown that charged particles, such as those that form the intergalactic plasma, will evolve into very familiar galactic shapes under the influence of electrodynamic forces. The results of these simulations fit perfectly with the observed values of the velocity contours in galaxies. No missing matter is needed. The electromagnetic force is many orders of magnitude stronger than the force due to gravity and it distributes itself more widely throughout space.
Alfven postulated both an electrical galactic model and an electric solar model. Wal Thornhill pointed out that Alfven's circuits are scaled up versions of a homopolar motor. The application of the Lorentz force equation ("crossing" the direction, v, of the current into the direction, B, of the magnetic field) yields a rotational force. Not only does this effect explain the mysterious tangential velocities of the outer stars in galaxies, but also (in scaled down version) the observed fact that our Sun rotates faster at its equator than at higher (solar) latitudes.
Alfven had already postulated that force-free filaments pinched together from currents flowing toward the galaxy can initiate star formation, so Peratt reasoned that larger filaments - stretching for hundreds of millions of light years - can similarly pinch together vast clouds of plasma to initiate galaxy formation.
Based on his laboratory experiments with two filaments that merge into a tight helix, giving off intense x-rays, and his computer simulation of this that showed the two filament cross sections forming into a spiral, he modified Alfven's model of a galaxy spinning in a magnetic field, producing inward flows of current.
He now made new simulations of two gigantic filaments 300,000 light years apart with currents of 10 million trillion amps with a density and magnetic field typical of a galaxy.
The simulations showed two plasma clouds in the filaments drawn together by the pinch effect. The clouds began to elongate and start rolling. Electrons trapped in a central cushion in the magnetic field between the clouds radiated great amounts of radio waves by synchrotron process.
[Electrons radiate when accelerated. Spinning around magnetic field lines produces acceleration].
The radiation was confined to small central regions of high fields.
The magnetic field's pressure started to break small plasmoids off from the central region and hurl them outward forming a powerful beam of energy coming out from the centre of the proto galaxy in both directions.
The simulation explained the jets emitted by radio galaxies, quasars and active galactic nuclei, long observed by astronomers, without needing to resort to black holes. The energy expelled by the jets can also solve the problem of removing excess energy of rotation (angular momentum) to allow further contraction for the formation and development of stars and galaxies.
.
Detail of how a galaxy forms
[Left] Two filaments each have axial currents running along the magnetic field lines of an external magnetic field. Their own currents also produce circular magnetic fields. The interaction of the axial currents and circular fields produces the pinching action - the two filaments converge towards each other.
[Right] As they move through the vertical magnetic field, electrons are pushed to the right and ions to the left producing additional currents. The electron excesses on the right are forced upwards as they move in, through their interaction with the circular or azimuthal field of the other filament; the ions on the other side are forced downwards.
[Left] Since the electrons move faster than the ions, the axial currents in both filaments shift off to the side. Now the force between the two currents still attracts them along a straight line.
[Right] But this is no longer a line between the centres of the filaments, so they start to move obliquely, rotating around each other as they move inward, producing a twisted pattern. Finally, when the two filaments get closer and move faster around each other, the excess charge on the inner edges of the filaments begin to move past each other in opposite directions.
[Left] This produces a repulsive force, because opposite currents repel and like currents attract. Eventually the two forces reach equilibrium and the contraction stops.
[Right] The two filaments have been twisted into a single large filament, which is now rotating, ready perhaps to merge with another.
[Left] Galactic size plasma clouds are more complex. The two clouds, pushed by the pinch force, approach each other. In this case too the ions and electrons are forced in opposite directions, producing a downward force on one side of the blob and an upward force on the other side (top).
These unbalanced forces start the clouds rolling. Since the electrons are pushed far faster than the ions, a circular current begins to flow in the same direction as the rolling motion. As in the case of the filaments, the additional currents push the blobs obliquely, so they roll around one another. They distort and stretch the process, because the forces of the inner parts are more powerful than on the other parts.
The two rolling currents create opposite magnetic fields, so the blobs repel each other, bouncing off a cushion of magnetic field. The pinch force prevents them from separating again, and they end up as a single rotating object - the galaxy.
As the simulation continued, a spiral shape formed. The resulting galaxy began to rotate, inducing currents flowing in opposite directions along the spiral arms, pinching them into filamentary shapes and the characteristic twisted helical form. The galaxy was generating its own electrical currents that in turn could pinch off to form gas clouds and eventually stars.
Figure 6: These images of a cross-section through two interacting Birkeland current filaments taken from Peratt's supercomputer simulation of the electrical formation of a spiral galaxy trace the development of spiral structure in two interacting plasma blobs over a span of nearly 1 billion years. They show where two cosmic current filaments pass vertically through the plane of the developing galaxy. At the start of the interaction at upper left the filaments are 260,000 light-years apart; all 10 panels are reproduced at the same scale. Simulations such as this can reproduce the full range of observed spiral galaxy types using electromagnetic processes.
This solved one of the great mysteries of astronomy - how do objects obtain spin (angular momentum)? It was clear that it comes from the interaction of the magnetic fields - spin at the expense of fields.
Another great mystery was also solved. As in the solar system, outer planets move more slowly than planets close to the sun, the speed of a disk shaped galaxy should steadily fall as the distance increases (if it is held together by gravity alone).
What actually happens is that the speed rises rapidly at the centre and levels off to continue constant despite the distance from the centre. Astrophysicists saw this as evidence of a halo of dark matter surrounding the visible galaxy, but the simulation showed that the constant speed emerges naturally. The spiral arms are like blades of a fan, fixed, so that they rotate together with the same rotational velocity along its whole length, but shaped like springs radiating from a galaxy's core, rolling as they turn.
The rolling motion in the spiral arms of real galaxies and their magnetic fields have been discovered. Peratt's simulations accurately matched observations of ordinary and radio galaxies. [It was published in 1983 Astrophysics and Space Science.] Laboratory experiments confirmed that the same phenomena apply to currents from micro to mega-amperes - a range of a trillion fold.
Right: Image taken by the Very Large Array of telescopes at radio wavelengths showing a bright source at the centre of the Milky Way that is thought to surround a black hole.
The structure known as the Galactic Centre Radio Arc (upper left) is described as “hot plasma flowing along lines of magnetic field.
Left: Swirling streams of electrons and ions form filaments that span vast regions of space. Where pairs of these filaments interact the particles gain energy and at narrow “pinch” regions produce the entire range of galaxy types as well as the full spectrum of cosmic electromagnetic radiation. Thus galaxies must lie along filaments, as they are observed to do on a large scale. The bulk of the filaments are optically invisible from a distance, much like the related Birkeland currents that reach from the Sun and cause auroras on Earth
The universe is a continuous process of current flow through tenuous plasma that forms its substance. Against a background magnetic field, the current flows in the form of invisible cosmic Birkeland current filaments.
The induced rotation of Birkeland current pairs, where they intersect, is responsible for the formation and rotation of a galactic disc and the production of the characteristic spiral arms. Current flows in from the extra-galactic environment from the edges of the disc where it then twists upward and downward along the rotation axis in response to the generated magnetic field. It then completes its circuit by spiraling back down to the edge of the disc.
Plasma is compressed within the vortical filaments of birkeland currents in long lines extending out from the galactic nucleus - sometimes the "lines" are seen in galactic images as "bars" that spin at right angles to the current flowing out of the central bulge. It is in the most dense current flows where stars form. The stars shine because of the way that moving plasma behaves in a magnetic field.
Figure 4: A composite (Hubble+Chandra) image of the inner regions of the Crab Nebula around the Crab pulsar, a rapidly rotating neutron star the size of Manhattan.
The Crab Nebula and its alleged neutron star are said to be remnants of a supernova explosion spotted by Chinese astronomers in 1054 A.D. In this movie bright wispy structures can be seen moving outward at half the speed of light to form an expanding ring, visible in both X-ray and optical images. These wisps appear to originate from a shock wave that shows up as an inner X-ray ring. Many knots in the ring brighten and fade. They jitter around and occasionally undergo outbursts that give rise to expanding clouds of particles.
"The inner X-ray ring is the location of a shock wave that turns the high-speed wind from the pulsar into extremely energetic particles. A turbulent jet that lies perpendicular to the inner and outer rings is a stream of matter and anti-matter electrons moving at half the speed of light.
EU says the picture (right) shows the filamentation produced by magnetic fields and electric currents, as material races away from the nebula's core at half the speed of light--a "higher speed than expected from a free explosion", according to NASA reports. Acceleration of particles is a trademark of electrical activity.
In the photograph (left) we see the internal dynamics of the Crab Nebula, revealing structure typical of the intensely energetic activity observed in laboratory experiments with electrical discharge in plasma. That these dynamics are revealed by x-rays is significant because x-ray activity always accompanies high-energy electrical interactions. The internal polar configuration is of particular interest. A torus or wheel-like structure revolves around an axial column. Polar columns or jets are expected in intense plasma discharge. NASA spokesmen refer to "a scintillating halo, and an intense knot of emission dancing, sprite-like, above the pulsar's pole".
The Cat’s Eye Nebula
Planetary nebulae, of which the Cat’s Eye is an example, is explained as an emission nebula consisting of a glowing shell of gas and plasma formed by certain types of stars when they die. As a star burns itself up, it evolves into a red giant that “boils off” a relatively slow-moving wind. At a critical stage, it collapses into a white dwarf, blowing off its atmosphere at a high speed. The high-speed wind catches up to the previous low-speed wind, collides with it, and produces shock waves that form bubbles, hot gas, and x-rays. Astronomers have come to realize that the expected spherical shells of gas are actually hourglass-shaped structures and that the few spherical forms are the result of viewing them “looking down the barrel.”
The "Electric Universe" understands the Cat’s Eye to be an electrical discharge in plasma, an overload, the flare-up of a star under abnormal electrical stress. Because the Cat's Eye Nebula is composed of plasma instead of merely hot gasses, its structure and development are consequences of electrical discharge rather than of an explosion and shock waves. The source of the energy is not the star at the core of the nebula, but the same galactic electric circuit which created and powered the star throughout its life. The filamentary cellular structures are characteristic of plasma behavior. Among those characteristics are concentric spheres, rays, intertwining spirals, bubbles formed of filaments and networks of filaments, and dusty pillars. The evenly spaced radial filaments with concentric rings of increased luminosity are typical of the plasma focus discharge mechanism. The filaments tend to pair up, and several exhibit the braiding that develops as pairs of filaments spiral around their common axis.
The most striking feature of the central part of this nebula is its polar symmetry. This is where the galactic Birkeland currents that feed the star "pinch" down into a galactic thunderbolt shaped similar to Zeus's thunderbolt.
The central “bubble” region, in red (optical) and blue (x-ray), marks out the rough “double helix” of Birkeland currents along the axis of the hourglass form. The axis is slightly tilted and perhaps “bent” to the line of sight. As is typical, the visible “ends” of the double helix are forked.
The electrical stress no doubt produces massive nuclear reactions in much the same way that we produce nuclear reactions in a laboratory by bombarding targets with electrically accelerated particles. And in the same way the reactions occur on and near the surface, not in the core.
Thin double layers separate the cells of plasma from each other, and these double layers accelerate charge carriers, primarily electrons, to high velocities. In the blue region, these fast moving electrons spiral along the magnetic field and emit x-ray synchrotron radiation.
The image shown is the central region of the nebula. Outside this region lies an outer shell of the hourglass form with even more pronounced filamentation. The ring of luminosity that has formed where the threads of current have pinched down to a threshold of current density emphasize the view “down the barrel” of the discharge.
In the photo (right), the scar across the face of Mars (canyons of Valles Marineris) is compared to a barred spiral galaxy. EU proponents see this as a cosmic thunderbolt strike on Mars of two huge filaments or plasmoids. Electromagnetic forces then constrained the discharge across the surface of Mars to the classic shape of a barred spiral galaxy.
Exploding double-layer CRL 618
Crisscross filaments are seen expanding outward from a red giant star (left). Complex jets of material are being ejected from the "planetary nebula" CRL 618 in the form of rings, knots, and twisted streamers of glowing gases. The overall shape reveals two gigantic, bifurcated jets emerging from the star, indicating the beginnings of a helical shape. It is the double layers that are glowing, in the image of CRL 618, exposing the distinct boundaries between sheaths. Since electric currents flow along the sheaths, the filaments (Birkeland currents) attract one another over long distances but repel each other when they get too close. Rather than coalescing, they twist around each other, ultimately growing into long, electric "transmission lines" in space.
Planetary nebulae, therefore, should be thought of as gas discharge tubes that are many light-years long.
The consensus view of planetary nebulae is based on explosive shock waves through clouds of hot gas. Since thermal and kinetic events are chaotic, by definition, any light from those events should exhibit multiple frequencies. However, as in CRL 618, over 90% of the light is seen in a small range of frequencies, mostly from ionized oxygen.

To help visualise the spherical shells of gas of the Cats Eye Nebula as hourglass-shaped structures and perceiving what is meant by viewing them “looking down the barrel”, the `Red Square Nebula' image (left) is a good example. This too has an hourglass shape as demonstrated by the set of three images on the right. The first image shows the skeleton of the twin opposed cones as we see them from earth, but if we rotate away from our view we can visualize that the bright bars seen edge-on become elliptical rings encircling the polar axis of the system (right). The image on the right of these three is the view that the Cat’s Eye Nebula perspective has.
It's a vesica pisces with the `star' in the center. Compare this view to the structure of SN1987A with its three axial rings below. The same vesica pisces hourglass shape is seen here, from which you are now able to imagine looking down the barrel of it.
The brightening of the equatorial ring of supernova SN1987A and its three axial rings.
Charles Bruce argued that the bipolar shape, temperatures and magnetic fields of planetary nebulae could be explained as an electrical discharge.
The "z-pinch" term comes from the usual representation of a current flowing along the z-axis, parallel to the magnetic field. With a strong enough current, the plasma formed by the discharge electromagnetically "pinches" into a string of sausages, donuts and plasma instabilities, along the z-axis.
Once formed, stars continue to be lit by electrical power delivered throughout the universe by Birkeland current filaments. These giant filaments can be traced by their radio transmissions. Stars also trace the Birkeland currents in galaxies in the same way that electric streetlights trace the routes of electrical cables. Spiral arms are the paths of currents traversing the galactic disk, and stars are the focal points of pinches occurring between them, strung like beads on threads.
The equatorial ring of SN 1987A is not unique. Many planetary nebulae have remarkably similar bipolar structures.
An electric star has internal charge separation which can power a star-wide, expulsive lightning-flash. The star relieves electrical stress by blowing off charged matter. A star also has electromagnetic energy stored in an equatorial current ring. Matter is ejected equatorially by discharges between the current ring and the star. Our own Sun does it regularly on a small scale. However, if the stored energy reaches some critical value it may be released in the form of a bipolar discharge, or ejection of matter, along the rotational axis.
The remnant of SN 1987A shows such a bipolar ejection in the form of two blobs of matter (inside the bright ring).
The bright beaded ring shows that matter has been ejected equatorially. The ring is not expanding. The other two fainter rings are also arranged above and below the star on the same axis and show similar but fainter "bright spots".
A shock wave from an exploding star should show spherical, rather than axial, symmetry. And there is no particular reason why the shock front should form a ring of bright spots.
Stars are an electrical plasma discharge phenomenon. Electrical energy produces heavy elements near the surface of all stars. The energy is transferred over cosmic distances via Birkeland current transmission lines. The energy may be released gradually or stored in a stellar circuit and unleashed catastrophically. These cosmic circuits are the energy source for the supernova explosion. That is why the energy output of some nebulae exceeds that available from the central star.
Photograph of a 0.6-mm-thick titanium witness plate that has been placed 15 cm in front of a 100 kilo-Gauss, sub-megaampere charged particle beam.
Anthony Peratt, explained the unusual characteristics of a high-energy plasma discharge. He discussed mega-ampere particle beams and showed their characteristic 56- and 28-fold symmetry. He wrote: "A solid beam of charged particles tends to form hollow cylinders that may then filament into individual currents. When observed from below, the pattern consists of circles, circular rings of bright spots, and intense electrical discharge streamers connecting the inner structure to the outer structure."
In the photograph (right) initially, the particle beam was cylindrical but after traveling 15 cm it became filamented. In the sub-gigaampere range, the maximum number of self-pinched filaments allowed before the cylindrical magnetic field will no longer split into "islands" for the parameters above has been found to be 56. These results verify that individual current filaments were maintained by their azimuthal self-magnetic fields, a property lost by increasing the number of electrical current filaments.
The scaling is constant for a given hollow beam thickness, from microampere beams to multi-megaampere beams and beam diameters of millimeters to thousands of kilometers. This scaling of plasma phenomena has been extended to more than 14 orders of magnitude, so the bright ring of supernova 1987A can be considered as a stellar scale "witness plate" with the equatorial ejecta sheet acting as the "plate" for the otherwise invisible axial Birkeland currents.
Because the electrical current-carrying filaments are parallel, they attract via the Biot-Savart force law, in pairs but sometimes three. This reduces the 56 filaments over time to 28 filaments, hence the 56 and 28 fold symmetry patterns. In actuality, during the pairing, any number of filaments less than 56 may be recorded, as pairing is not synchronized to occur uniformly. However, there are 'temporarily stable' (longer state durations) at 42, 35, 28, 14, 7, and 4 filaments. Each pair formation is a vortex that becomes increasingly complex."
The images of SN 1987A shows the Birkeland currents around the star have paired to a number close to 28. The bright spots show a tendency toward pairing and groups of three. The witness plate model explains why the glowing ring is so nearly circular and is expanding very slowly - unlike a shock front. It is more like a cloud at night moving through the beams of a ring of searchlights.
Experimental and simulation derived geometries for extreme plasma currents in a plasma column. The Birkeland current filaments will only be visible where the plasma density is high. The diagram shows the features of a plasma Z-pinch (left), the detailed filamentary current structure (center), and the 'witness plate' result of the Birkeland current filaments interacting with the equatorial expulsion disk of supernova 1987A. The number of filaments forming a cylinder follows a regular pattern.
All the features of that spectacular supernova remnant could be explained in terms of a cosmic 'Z-pinch' plasma discharge, focused on a star.
If the equatorial ring shows the Birkeland currents in the outer sheath of an axial plasma current column, then the supernova outburst is the result of a cosmic z-pinch in the central column [see purple diagram on left], focused on the central star. The z-pinch takes the ubiquitous hourglass shape of planetary nebulae.
It is also the shape of SN1987A with its three rings.
The Red Square shows the stellar Z-pinch in close-up and we can see the Birkeland filaments for the first time, called 'combs' in the Science paper.
A report concludes: "the high degree of regularity in this case may point to the intriguing possibility that these bands are shadows cast by periodic ripples or waves on the surface of an inner disk close to the star at the heart of the system ... If you can get a mental grasp of the three-dimensional geometry implied by the Red Square images then it is fascinating to take a look at SN1987A. The remarkable series of bars seen in the Red Square make it the best astrophysical laboratory yet discovered for studying the physics of generating the mysterious sharp polar-ring systems like that around SN1987A."
Plasma cosmologists believe the three-dimensional geometry implies that the bipolar hourglass shape is a stellar circuit made visible. The 'combs' are Birkeland current filaments in a Z-pinch configuration, so it can be predicted that their number will match the sequence found experimentally.
Exploding double layers are very important in stellar outbursts. It is the only stellar explosion mechanism that naturally produces bipolar remnants and equatorial ejection disks (as distinct from hypothetical 'accretion' disks) and lends itself to empirical testing in the lab.
In Sweden the waterpower is located in the north, and the industry in the south. The transfer of power between these regions over a distance of about 1000 km was first done with a.c. When it was realized that d.c. transmission would be cheaper, mercury rectifiers were developed. It turned out that such a system normally worked well, but it happened now and then that the rectifiers produced enormous over-voltages and did considerable harm.
An arc rectifier must have a very low pressure of mercury vapor in order to stand the high back voltages during half of the a.c. cycle. On the other hand, it must be able to carry large currents during the other half-cycle. It turned out that these two requirements were conflicting, because at a very low pressure the plasma could not carry enough current. If the current density is too high, an exploding double layer may be formed. This means that in the plasma a region of high vacuum is produced: the plasma refuses to carry any current at all. The sudden interruption of the 1000 km inductance produces enormous over-voltages. In 1964 Jacobsen and Carlqvist suggested that exploding double layers produced violent solar flares. In an extreme situation the power from a galactic circuit is catastrophically released in an exploding double layer near the surface of a star to produce a supernova.
A number of double layers develop in series between a star and its galactic environment. Strong electric fields exist across them summing to the voltage difference between the star and the galactic plasma environment. Cosmic rays allow us to estimate the voltages of stars at tens of billions of volts. Ions and electrons are accelerated across the thin double layers and collide. The 'linear rungs or bars' of the Red Square fit Alfvén's circuit diagram as polar 'double layers,' symmetrically situated along the Z-pinch filaments, some distance from the star's two poles. Their thinness and electrical excitation results in the enhanced glow and sharp definition of the 'rungs or bars.'
Alfvén pioneered the stellar circuit concept and it seems his 'wiring diagram' is correct but incomplete because it does not show the star's connection to the larger galactic circuit. The current closes at large distances, and by mapping the currents flowing along the arms of spiral galaxies we can discover where. We then see that all stars are the focus of Z-pinches within a galactic discharge. Normally the current flows in 'dark mode' so we don't usually see the bipolar 'wiring harnesses' of hyperactive stars, like that at the heart of Red Square. But we can witness the effects on the Sun's 'surface,' in its superheated corona, and the solar ‘wind.’ Photospheric granules on the sun are double layers.
Pulsars are sometimes found in a supernova remnant. The source of the radiation energy might not be contained within the pulsar, but may derive from the pulsar's interaction with its environment, or by energy delivered by an external circuit.
The 'planetary magnetosphere' view says that it is the extent of the magnetosphere, not emission points on a rotating surface, that determines the pulsar emission.
In other words, we do not require a hypothetical super-condensed object to form a pulsar. A normal stellar remnant undergoing periodic discharges will suffice. Plasma cosmology has the virtue of not requiring neutron stars or black holes to explain compact sources of radiation.
Please now go to: Part 3
[Plasma Cosmology Part 1]
[The Sun Part 4 ]
[Part 5 ]
[Part 6 ]
[The Magnetosphere Part 7]
[Bits and Pieces Part 8]