No momento, tenho dois artigos. Pelo segundo (sobre amplificadores em classe A) agradeço ao Raphael Coelho.
Diodos
O diodo é um dispositivo formado pela junção de material semicondutor tipo N e tipo P.
O material tipo N tem como portadores majoritários elétrons (negativos) enquanto o material tipo P tem lacunas (positivas) como portadores majoritários.
Não vou me aprofundar na física dos semicondutores.
O aspecto interessante do diodo é que ele só permite passagem de corrente em um sentido. Quando diretamente polarizado, conduz aproximadamente como uma chave (apresenta uma queda de tensão de aproximadamente 0,6V). O diodo está diretamente polarizado quando o terminal com material tipo P está ligado ao pólo positivo da bateria.
Quando reversamente polarizado, o diodo praticamente não conduz.
Veja a curva Característica do diodo:
Em geral, para entender um circuito, considera-se o diodo como sendo ideal, ou seja, conduz como um fio se polarizado diretamente e como um circuito aberto quando reversamente polarizado.
Caso se queira mais precisão pode considerar-se uma tensão de 0,6 V para um diodo de silício e 0,4 V para um de germânio.
Uma análise mais precisa poderia ser obtida usando-se a curva do diodo, que pde ser obtida junto ao fabricante do modelo. Sobre ela pode-se traçar uma reta de carga, tendo assim informações bastante precisas sobre o comportamento do diodo.
Agora vejamos dois exemplos simples do funcionamento dos diodos:
A seguir, um exemplo do comportamento (ideal) de um diodo quando submetido a uma tensão alternada:
No semiciclo positivo, o diodo conduz. No semiciclo negativo ele não conduz.
A seguir, outro exemplo de aplicação do diodo, o retificador de onda completa:
Como você pôde ver no osciloscópio, a tensão na carga é sempre positiva, isto acontece porque no semiciclo positivo, os diodos D2 e D3 conduzem, emquanto no negativo, são os D1 e D4 que o fazem. Desta forma, a polaridade da tensão na carga é sempre a mesma.
Isto é tudo que tenho a dizer sobre diodos, por enquanto.
Um amplificador de potência apresenta características como: altos níveis de sinal (tensão e/ou corrente), baixa sensibilidade e principalmente alta eficiência (o que fará todas as demais características serem possíveis). A classe A de amplificação não é, assim, a mais indicada para esse propósito. Classes que possibilitam maior eficiência , como a B, AB e D serão mais indicadas. A classe A possui como característica uma operação em 360° do ciclo de trabalho. Assim para o BJT será caracterizado uma polarização no centro da região linear. A classe A apresenta alta linearidade (baixa distorção). Amplificadores de Potência Classe A com BJT Para o amplificador de potência com BJT serão usados transistores com alta capacidade de dissipação de calor (transistores de potência – famílias BD, TIP) e será por muitas vezes necessário a utilização de dissipadores de calor. Os transistores de potência apresentam em geral baixo HFE. A melhor forma de se polarizar um transistor para operar em Classe A é a polarização por divisor de tensão (independente de beta), por se apresentar com maior estabilidade o que nos garantirá uma ponto quiescente estável no centro da região linear. Cálculo da polarização por divisor de tensão (independente de beta) A polarização por divisor de tensão possui o seguinte esquema: Escolhendo valores adequados para as variáveis acima podemos fazer com o essa polarização adquira duas características importantes: estabilidade térmica e imunidade a dispersões paramétricas de b
. A estabilidade térmica é conseguida através da realimentação negativa de tensão feita por Re. Realimentações negativas tipicamente estabilizam o circuito amplificador, embora façam com que o ganho diminua consideravelmente (a solução para esse problema será o capacitor de "by pass"). Nesse circuito o resistor de emissor agirá da seguinte forma. Um aumento da temperatura de junção do transistor causará um aumento na corrente de coletor o que fará com que o transistor dissipe mais potência e aumentará a temperatura de junção o que, consequentemente, fará a corrente do coletor aumentar ainda mais. Ocorreu, dessa maneira, o problema da derivação térmica. O resistor de emissor fará com que cada vez que a corrente de coletor aumente a corrente de base diminua, evitando a derivação. Para uma boa estabilidade térmica utiliza-se VRE aproximadamente 1/10 de VCC. Para controlar a dispersão paramétrica de beta (efeitos da mudança de beta com a substituição do transistor) temos que fazer com que IE, não IB controle IC pois, dessa maneira a variação do fator beta vai influir aproximadamente 2/b
menos. Para isso faz-se a corrente de R2 muito maior que a de Re. Observe o esquema abaixo onde o circuito da malha R2-BE-Re foi considerada com apenas uma corrente (IB), para tal multiplicamos Re por b
+1 já que IE está para IB no mesmo fator: Convenciona-se que para o divisor de tensão ser estável tem-se a seguinte relação: Para calcular R1 usamos a fórmula: Eficiência e máxima excursão do amplificador Classe A Em cálculos de amplificadores de potência costuma-se utilizar uma análise gráfica ao contrário de cálculos para pré-amplificadores onde se utiliza um circuito elétrico equivalente ao transistor. Diz-se análise gráfica quando utiliza-se as retas de carga de um circuito para determinar suas características. O BJT pode operar em três configurações distintas: emissor-comum, base-comum, e coletor-comum, com retas de cargas que podem ser facilmente escritas utilizando análise de malhas. Configuração emissor-comum: Nessa configuração o sinal de entrada é posto na base e o saída é retirado do coletor, tendo assim o emissor como terminal comum a ambos. Essa configuração permite altos ganhos de corrente e tensão, embora em amplificações de potência esses ganhos se encontrem em níveis médios. Na configuração emissor-comum o sinal de saída está defasado 180° do sinal de entrada. Uma das principais conseqüências disso é alta capacitância de entrada (por causa do efeito Miller) o que torna seu uso limitado para altas freqüências. Em sistemas de áudio contudo, onde a freqüência varia entre valores baixos e médios esta é a configuração mais amplamente utilizada. Observe a figura abaixo: O capacitor Cs tem como função bloquear qualquer sinal CC na entrada que poderia mudar a polarização do BJT. O capacitor Cc também bloqueará um sinal CC: vce fazendo com que na saída só haja o sinal de entrada amplificado. Ce, por sua vez, terá como função fazer o emissor o terra para os sinais de entrada e saída, sem, contudo, influenciar na realimentação CC de Re. As retas de carga serão determinadas pelas malhas AC e CC do coletor: Ou Dessa forma pode-se reescrever a malha CA da seguinte forma: O gráfico abaixo mostra as retas e os pontos de corte e saturação CC e CA: A interseção entre as duas retas representa o P.O.E. (ponto de operação estático). Dessa maneira, a projeção da reta de carga CA no eixo x indicará a máxima excursão de pico a pico do sinal de saída do amplificador, enquanto a projeção da reta de carga CC indicará a máxima excursão em função da fonte de alimentação. Caso o valor do sinal ultrapasse algum desses limites, o transistor entrará nas regiões de corte ou saturação onde a resposta não é linear, o que acarretará em distorções na saída do amplificador. Nota-se que o ponto de corte CA sempre será menor que o CC, logo deve-se preocupar somente com este, ao passo que se esta condição for atendida a CC também será. Observe o gráfico abaixo: O ponto Q, para operação com maior eficiência, deverá, logo, ser posicionado no centro da reta de carga CA, o que poderá, na prática, ser feito através de tentativa e erro ou derivando um sistema matemático. Base-comum: A configuração base-comum permite altos ganhos de tensão e um ganho de corrente unitário. Ao contrário da configuração emissor-comum não apresenta defasagem entre o sinal de entrada e o de saída. Sua utilização prática é limitada a operações em altas freqüências por apresentar baixa capacitância de entrada. No amplicador em base-comum o sinal é introduzido no emissor e recolhido no coletor. Essa configuração não é comumente aplicada a amplificadores de potência. Coletor-comum: A configuração coletor-comum, onde o circuito também é por vezes chamado de seguidor de emissor, permite altos ganhos de corrente enquanto um ganho de tensão unitário. Por possuir alta impedância de entrada e baixa de saída é normalmente utilizado como buffer de tensão. Nessa configuração o sinal de entrada se encontra na base e o de saída no emissor, o que garante um sinal de saída sem inversão de fase. A polarização recomendada para o BJT nesta configuração é a polarização por divisor de tensão (exatamente como mostrado acima). A maneira mais prática de fazer o cascateamento é o acoplamento direto entre o dois amplificadores, um coletor-comum e o outro emissor-comum. Desta forma o nível de tensão CC do coletor do primeiro estágio polarizará o segundo estágio não necessitando assim de resistores de polarização. Veja o esquema abaixo: Uma boa aproximação para o valor da resistência de entrada é a carga multiplicada pelo fator b
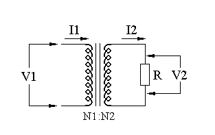
de Q2. Eficiência do amplificador: A eficiência do amplificador é definida pela razão entre a potência eficaz entregue a carga e a potência CC média consumida da fonte de alimentação. A Classe A de amplificação permite uma eficiência máxima teórica de 25%, o que pode ser facilmente comprovado, observando as máximas excursões de sinal de saída e a potência CC drenada para esse caso. Uma maneira de aumentar essa eficiência é usar um transformador para acoplar o sinal de saída à carga. Veja o esquema abaixo: No transformador as tensões e as correntes obedecem as seguintes relações: Assim, a saída do circuito verá a carga (N1/N2)2 vezes maior, o que aumenta a eficiência máxima do circuito classe A para até um máximo teórico de 50%. Embora possa parecer uma boa solução, o uso do transformador traz inúmeras desvantagens que devem ser consideradas na hora do projeto. Transformadores são caros, volumosos, pesados e além disso têm uma resposta não linear devido a baixa resposta a freqüências e uma perda média de 40% da potência de saída por causa de perdas no núcleo (histerese e correntes de Foucault) e de perdas ôhmicas no cobre. O esquema do amplificador desacoplado com transformador é mostrado abaixo: Por Rafael Coelho Lopes de Sá Estudante do curso técnico de eletrônica do CEFET-RJ.
Amplificadores em Classe A
Diodos
Circuito 1:
A corrente vai ser a tensão no resistor
sobre a sua resistência, ou seja:
I = (10-0,6)/470
I = 0,02 = 20mA
Circuito 2:
Como o diodo está reversamente polarizado:
I = 0
Amplificadores em Classe A
Pode-se instantaneamente escrever três importantes malhas do circuito:






Para que o amplificador funcione perfeitamente em sinais alternados foram adicionados os capacitores Cs, Ce e Cc.
(malha CC)
, as variáveis minúsculas em eletrônica indicam o valor CA, assim defini-se:
,
e
; onde RL será a carga do circuito.
(malha CA).
Os pontos no eixo x, representam os pontos de corte, enquanto os pontos no eixo y representam os pontos de saturação.
Neste percebe-se que os limites para o valor de pico do sinal será Vceq e Icq.rc, assim o menor deles deverá ser considerado como menor excursão de pico para o sinal de saída.
No circuito ao lado, o primeiro estágio verá como carga a resistência de entrada do estágio coletor-comum.

