Site hosted by Angelfire.com: Build your free website today!
 

Construcción de un cable para la HP y el PC.

Materiales:

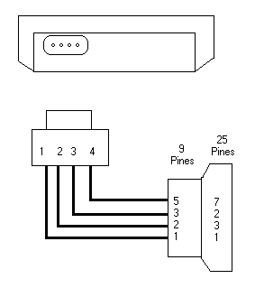
  Para construir el cable solo se tiene que soldar los pines del conector de la HP (el de 4) a los pines del PC (el de 9 ó 25) de la siguiente manera:

    Se ha de tener en consideración que el pin "1" del conector de de la HP es el que está más a la derecha en el cable (viendo el conector de frente), como se muestra en la  figura.

NOTA: NO ME HAGO RESPONSABLE POR DAÑOS CAUSADOS A LA CALCULADORA CON LA REALIZACIÓN DE ESTE CABLE, POR LO QUE QUEDA BAJO TU RESPONSABILIDAD LA CONSTRUCCIÓN Y USO DEL MISMO.

InicioProgramasCursosLinksInterfaseOpinión

Luis M. Gallardo D. © (2000)
hp48g@mailcity.com
https://www.angelfire.com/ok/hp48g