Site hosted by Angelfire.com: Build your free website today!

Árpád bridge

Location and name of the bridge
Name of the bridge: "Árpád" bridge
Distance: 1651+400 km
Country: Hungary
City/town: Budapest
Year of building: 1939 - 1942.
completion: 1948 - 1950.
Year of widening: 1980 - 1984.
Span lengths of river bridge: 60.0 + 65.0 + 45.0 + 82.0 + 2 * 103.0 + 82.0 + 90.0 + 76.0 + 102.0 + 76.0 + 36.9 m
Roadway widths: 2.73 + 11.3 + 7.2 + 11.3 + 2.75 m
Designer: FŐMTERV, UVATERV
Main contractor: Bridge Construction Comp., Ganz-MÁVAG
Construction cost: 2325.365 million HUF (whole complex)
Owner of the bridge: City of Budapest

Traffic function of the bridge
Highway bridge, carrying a double track tramway line and 6 lanes

Antecedents; the history of the bridge
The idea for a new bridge on the north part of the city was initiated by the fact, that the left bank was a developed industrial area, while on the right one there was a dense population. Law No. XLVIII. in 1908 ordered the construction of the bridge, but its completion was cancelled because of World War I. Later the development of the south part of the capital had a higher importance, therefore the design process started only in 1930.
The conditions were quite difficult, as the Danube has four arms in this area with very different distances to span over, and it was rather hard to decide, how the divide them, where and how to give the axis of the complete construction, etc. As not all of the conditions were clearly drawn, the designer teams should give recommendations for the solutions.
Two plans were honoured by the first prize, both of them were certain arched solutions, made by university professors János Kossalka and Gyula Wilder, and by Győző Mihailich and Iván Kotsis, with the main difference, that the arches were trusses in the first plan, while plated ones in the second. But the question, where to situate the bridge, was open. This caused delay in starting the construction and in the meantime some new ideas came into existence concerning the statical system of the new structure.
Finally taking into account, that an arch system would cause high horizontal forces to balance, which would increase the mass of foundations, it was decided, that a series of multi-span continuous plated structures would be realized. The final version of the bridge was planned by Károly Széchy, and the construction started in 1939, but after the building of the foundations it was interrupted by World War II.
The original plan of the bridge was partly realised for 1950. This structure was very narrow, its width was enough to carry the tramway tracks and two lanes of 2.22 m widths for the road traffic. As the bridge is the northest one, crossing the Danube on the Hungarian territory, it has a very high infrastructural importance.

The technical data of the bridge

Structural system, span lengths, widths
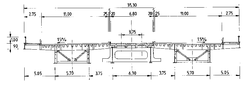
The original part of the bridge is carrying the two tramway lines, for road traffic two new, box plated structures were built, carrying 3 lanes each.
The cross sectional layout of the new bridges is identical everywhere, only the height of the main girders and its profiles, as well as the shape of the transverse bracings is different. The cross girders are plated ones, the distance is 4250 mm. Their height between the web of mains is 800 mm. The height of the main plated girders varies between 3747 and 5460 mm, web thickness is 12-20 mm, and they are stiffened both horizontally and vertically.

Deck
The deck is an orthotropic steel plate, stiffened by horizontal stiffeners and the cross beams.

Foundation, substructure
All the abutments and river piers of the old bridge were built for a total bridge width of 27.6 m. But for the new structural beams to be laid out, the pier had to be rebuilt at a height of about 1.5 m under the bearings. The middle part of the piers and abutments (under the remaining old structure) had been left unchanged.

Quantities of applied materials
Weight of new steel construction: 8330 t
Grades used: A 38 B, 37 B-C, 52 C-D

Method of construction/erection; joints
For the widening of the river bridge, a floating crane of 120 t load capacity was ordered to be built by the Bridge Construction Company in 1979. It was finished for February 1981 and was named after the constructor of the Chain Bridge, Adam Clark. The first elements of the bridge were lifted in May 1981.
Manufacturing and erection of the steel construction was carried out by Ganz-MÁVAG Steel Factory. As the bridge had to serve the traffic during widening, first the south extension structure was completed in full length, then the northern one. In the Ganz-MÁVAG yard at Lágymányos, a BK 300 type tower crane and a moving crane of 50 t capacity were built. The pre-assembled structural units were taken by ships to the building site. The construction was stated from steel pedestals, built beside the piers by incremental launching.

Corrosion protection
The orthotropic plate of the bridge is covered with a synthetic resin insulation of type VDW from Germany, which was performed in three layers after sand blasting and a degreasing by acetone. The third layer was faced with spread crushed stone to increase the adhesion between the insulation and asphalt topping.

Test loading(s); periodical assessment of serviceability
Certain parts of the complex construction were tested in different times and by distinct methods. In some cases only the characteristic deflections were measured, while other times more detailed measurements, containing measurement of strains (stresses), the vertical alignment, etc.,. were carried out.
From the measurements, carried out on a three span continuous part of the bridge, it could be clearly seen that in case of non-symmetric cross sections the cross distribution is rather different from those which are calculated by usual models in this respect and it underestimetes the load capacity of such bridge structures.

Literature
Széchy, K.: Az óbudai Árpád-hid épitése, MTA Épités- és Közlekedéstudományi Közlemények 1957. No. 1-2.
Az Árpád-hid épitése. UVATERV Müszaki Közlemények 1981. No. 2.
Petur, A.: Az uj Árpád-hid. Mélyépitéstudományi Szemle. 1984. No. 10-11.
Knebel, J.: Az Árpád-hid acélszerkezetének tervezése. Mélyépitéstudományi Szemle. 1984. No. 10-11.
Bazsó, Gy. - Jankovich, G. - Kiss M. - Pintyőke, K.: Az Árpád-hid acélszerkezetének gyártása és szerelése. Mélyépitéstudományi Szemle. 1984. No. 10-11.

Links to drawings:

gif 1 gif 2

Link to the next page:

Northern Railway Bridge

back to homepage