Welcome To 's Homepage
Modeling the system in Simulink

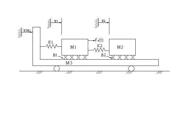
Problem Defination
- Draw free body diagrams and write a pair of coupled diffrential
Equations for the systems given below.
- Draw a simulink and run the simulink in MATLAB to represent
the systems.
- System 1

- System 2

Given:
fa(t) increases from 0 to10N.
t=1 s.
The Parameter Values M1=M2=10 Kg.
B1=B2=B=20 N*s/m
k1=k2=10 N/m