Site hosted by Angelfire.com: Build your free website today!

H0 finescale wheels

By Terry Flynn

A H0 fine scale flange can be roughly defined as a wheel with flange 2 times scale size. Which prototype flange should we use or should we stick with existing model profile for the best performance and appearance? This is the question I hope to answer. First lets look at some prototype flange profiles.










As can be seen there is a variety to choose from.



H0 scale wheel flanges


Scaling down most prototype flanges to H0 scale is difficult. Therefore manufacturers simplify and modify the prototype flange profile to make manufacturing easier. A popular flange profile is the NMRA RP 25, which looks like a simplified AAR profile.



NEM 311 is a common coarse scale flange profile and is similar in shape to the ANZR profile.


Unfortunately the flange depth (1.2mm maximum) makes the NEM wheel unacceptable for many model railway enthusiasts.
There is now NEM 311-1 which is a low flange depth version, however its profile is different to NEM 311 as it contains curves only.
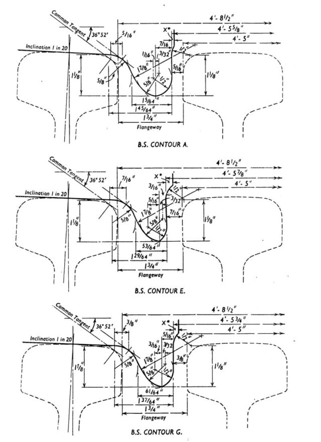
British made 00 wheels tend to use narrow deep flanges similar to the BS profiles proportions. The flange shape does vary considerably between manufacturers. In recent years the BS profile is being used by exact H0 scale Proto 87 modellers. The same flange profile double the size is also being used by scale 7 standards for 7mm/ft scale. Unfortunately this complex series of difficult to define and measure curves is impractical to mass produce with geometric consistency.
From an appearance point of view using a flange that has similar proportions to the prototype is best as long as we do not make the flange to deep. Flange profile

 

 

 

 

 

Flange profile

Flange width

mm

Flange depth

mm

AAR 1b*

0.67

0.58

NEM 311-1

0.7 to 0.9

0.6 min

NMRA RP25-110

0.76

0.64

BS 276 1927 A*

0.63

0.66

BS 276 1927 E*

0.48

0.66

BS 276 1927 G*

0.56

0.66

ANZR/ROA-2*

0.67

0.67

NEM 311

0.7 to 0.9

1.2mm

 

 

*Prototype Flange profiles 2 x H0 scale

 

The table shows that prototype flange width and height varies, and the NMRA and NEM profile both use wider than 2 times prototype flanges. Commercial track usually uses a check gauge of 15.2mm, and the NMRA track span (check face to check face distance) is 14.3mm. If we want H0 wheels to be compatible with the NMRA and NEM standards and most commercially produced track, then these 2 dimensions need to be considered. Using the NMRA wheel back to back of 14.38mm allows us to use their commercially available gauge. The back to back dimension can be as small as 14.35mm without any clearance problems. Using the NEM and NMRA RP 25 wide flange dimensions results in a small tolerance on the wheel back to back dimension. Most manufacturers seem to have trouble keeping the back to back dimension within 0.05mm. A more realistic tolerance of 0.1mm is desirable. Using a flange width range of 0.65mm to 0.7mm allows the use of the NMRA minimum back to back dimension of 14.38 with a + 0.12mm tolerance. The NMRA H0 standard specifies a flange depth of 0.71mm. Flanges of this depth look good and have been produced for many years on ready to run models. There is no need to make our flanges larger.



Wheel climb derailment



The Nadal formula (developed by French theorist M.J. Nadal in 1896) considers the influence of wheel flange angle, wheel/rail coefficient of friction and wheel/rail forces on the possibility of wheel climb derailment and is expressed below:

L/V=(tan a -u)/(1+u tan(a ))

L=wheel/rail lateral force
V=wheel/rail vertical force
L/V=ratio of wheel/rail forces*



The Nadal theory shows that increasing the front flange angle allows longer trains to be run before derailment will occur. However if we increase the flange angle, the ability of the flange to negotiate lateral misalignments in the track is decreased. Conversely decreasing the flange angle improves the ability to negotiate lateral kinks and misalignment in the track. Prototype flanges generally have a front flange contact angle of around 70°. Some modern profiles are now using steeper angles. Measurements of model railway wheel rail friction shows it to be in the same range as the graph above, therefore we can use the prototype flange angle for model railways. NEM 311 coarse scale wheel has been in use for many years with excellent tracking results using a 70° front flange angle. In theory decreasing the front flange angle to 60° will mean the maximum length train that can be pushed will be decreased by about 30%


Model flange comparisons



Unlike the prototype our model wheels lift from the track during normal operation because most of our models do not have working suspension or compensation. Also our model wheels have to negotiate sharper than scale curves and larger than scale lateral displacements of the track. To determine which wheel profile performs best under wheel lift and lateral displacement. I drew some fine scale flange profiles using a CAD program and compared how much the wheel can lift and what the lateral displacement can be accommodated before the flange contact angle becomes less than 70°.

The results show all the flange profiles compared that used compound curves on the front flange can tolerate less wheel lift compared to a modified ANZR flange profile. This profile is fundamentally the same shape of the NEM 311 coarse profile, simply scaled down to fine scale dimensions. I drew the ANZR profile at 0.7mm flange depth. It's worst case would be 0.5mm wheel lift at 0.65mm flange depth, still out performing all the other profiles. The other profiles used nominal values except the NEM 311-1 low profile which shows 2 different flange widths, which changes the result considerably. I also observed that slight variations in the dimensions of the other compound curve profiles results in a large difference in wheel performance during lift.


I did some tests to see how good fine scale flanges are. The test involved pushing long trains using short 4 wheel wagons at the front of the train. The test wagon was half the weight length ratio of the wagons being pushed. The first test was on mostly straight track, through an S bend of 1524mm radius and prototype radius Y and #6 turnouts.

Wagon wheel base = 29.75mm Straight track, some large curves = 1524mm radius

Flange profile

Flange profile

Train weight/ wagon weight ratio

0.7mm deep 60°

86

0.7mm deep 70°

86

RP25-110

84

Rp25-88

76

0.9mm deep 70

112

0.7mm deep RP25

90

 








The results above indicate that flange depth improves train weight to wagon weight ratio for these test conditions. It is hard to determine the exact cause of derailment, and the lack of difference in the results due to the flange angles suggests other factors dominated the cause of derailment under the test conditions.

Wagon wheel base = 29.75mm Sharp curves = 380mm radius

Flange profile

Flange profile

Train weight/ wagon weight ratio

0.7mm deep 70

38

RP25-110

0

Rp25-88

0

0.7mm deep RP25

11

 


The results of testing on the sharp curves show the ANZR / NEM profile is by far the best.

Wheel flange conclusions


The tests show that it is possible to push scale length trains using fine scale wheels of varying flange profile. The use of prototype flange angles is appropriate for H0 scale models and a maximum flange depth of 0.7mm is a good compromise between appearance and performance. The best flange profile tested for H0 fine scale was the modified ANZR /NEM style because it is easier to manufacture and out it out performs the other profiles on typical model track work.


Wheel Width


Wheel width affects appearance, how much compromise is necessary if the wheel front face to front face distance is over scale and how much wheel drop we get going over flange ways. For minimum wheel drop, make the minimum wheel width double the maximum flange way width. If you use commercial track wheels less than 2.8mm wide will result in wheel drop. However experience has shown wheels as narrow as 2.4mm work in most cases including 4 wheel carriages without noticeable wheel drop on RTR track. Using wheels of this width means the front face to front face dimension matches the prototype dimension for locomotives using wide tyres. Wheels as narrow as 2.2mm also work on coarse scale track in most cases. Unfortunately experience shows 4 wheel carriages using this narrower width on commercial track causes noticeable wheel drop and a high risk of derailment. The reasons for using 2.2mm wide wheels is the front face to front face dimension matches the scaled prototype dimension of prototype carriages and the wheel tyre distance is very close to exact scale. Building H0 fine scale track using 1mm flange ways solves the wheel drop problem.
See H0 fine scale standards page



The final result is H0 fine scale wheels on well proportioned mass produced ready to run models. It's not a dream any more.