DISTILLATION
COLUMN DESIGN
|
Distillation
columns are designed using VLE data for the mixtures to be separated.
The vapour-liquid equilibrium characteristics (indicated by the shape
of the equilibrium curve) of the mixture will determine the number of
stages, and hence the number of trays, required for the separation.
This is illustrated clearly by applying the McCabe-Thiele method to design a binary column.
|
McCABE-THIELE
DESIGN METHOD
|
The McCabe-Thiele approach is a graphical one, and uses the
VLE plot to
determine the theoretical number of stages required to effect
the separation of a binary mixture. It assumes constant molar overflow and this implies that:
|
molal
heats of vaporisation of the components are roughly the same
|
heat
effects (heats of solution, heat losses to and from column, etc.) are
negligible
|
for
every mole of vapour condensed, 1 mole of liquid is vaporised
|
The
design procedure is simple. Given the VLE diagram of the binary mixture,
operating lines are drawn first.
|
Operating
lines define the mass balance relationships between the liquid and vapour
phases in the column.
|
There
is one operating line for the bottom (stripping) section of the column,
and on for the top (rectification or enriching) section of the column.
|
Use
of the constant molar overflow assumption also ensures the the operating
lines are straight lines.
|
Operating Line for the Rectification Section
|
The operating line for the rectification section is constructed
as follows. First the desired top product composition is located on
the VLE diagram, and a vertical line produced until it intersects the
diagonal line that splits the VLE plot in half. A line with slope R/(R+1)
is then drawn from this instersection point as shown in the diagram
below.

R is the ratio of reflux flow (L) to distillate flow (D) and is called the reflux
ratio and is a measure of how much of the material going up the
top of the column is returned back to the column as reflux.
|
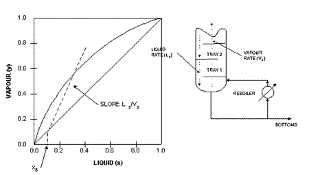
Operating Line
for the Stripping Section
|
The operating
line for the stripping section is constructed in a similar manner. However,
the starting point is the desired bottom product composition. A vertical
line is drawn from this point to the diagonal line, and a line of slope
Ls/Vs is drawn as illustrated
in the diagram below.

Ls is the liquid
rate down the stripping section of the column, while Vs is the vapour
rate up the stripping section of the column. Thus the slope of the operating
line for the stripping section is a ratio between the liquid and vapour
flows in that part of the column.
|
Equilibrium
and Operating Lines
|
The McCabe-Thiele
method assumes that the liquid on a tray and the vapour above it are
in equilibrium. How this is related to the VLE plot and the operating
lines is depicted graphically in the diagram on the right.
A magnified
section of the operating line for the stripping section is shown in
relation to the corresponding n'th stage in the column. L's are
the liquid flows while V's are the vapour flows. x and y denote liquid
and vapour compositions and the subscripts denote the origin
of the flows or compositions. That is 'n-1' will mean from
the stage below stage 'n' while 'n+1' will mean from the
stage above stage 'n'. The liquid in stage 'n' and the vapour above
it are in equilibrium, therefore, xn and yn lie
on the equilibrium line. Since the vapour is carried to the tray above
without changing composition, this is depicted as a horizontal line
on the VLE plot. Its intersection with the operating line will
give the composition of the liquid on tray 'n+1' as the operating line
defines the material balance on the trays. The composition of the vapour
above the 'n+1' tray is obtained from the intersection of the vertical
line from this point to the equilibrium line.
|
Number of Stages and Trays
|
Doing the graphical
construction repeatedly will give rise to a number of 'corner' sections,
and each section will be equivalent to a stage of the distillation.
This is the basis of sizing distillation columns using the McCabe-Thiele
graphical design methodology as shown in the following example.
Given the operating lines for both stripping
and rectification sections, the graphical construction described above
was applied. This particular example shows that 7 theoretical
stages are required to achieve the desired separation. The required number
of trays (as opposed to stages) is one less than the number of
stages since the graphical construction includes the contribution of
the reboiler in carrying out the separation.
The actual
number of trays required is given by the formula:
(number of
theoretical trays)/(tray efficiency)
Typical values
for tray efficiency ranges from 0.5 to 0.7 and depends on a number of
factors, such as the type of trays being used, and internal liquid and
vapour flow conditions. Sometimes, additional trays are added (up to
10%) to accomodate the possibility that the column may be under-designed.
|
The Feed Line
(q-line)
|
The diagram above
also shows that the binary feed should be introduced at the 4'th stage.
However, if the feed composition is such that it does not coincide with
the intersection of the operating lines, this means that the feed is
not a saturated liquid. The condition of the feed can be deduced by
the slope of the feed line or q-line.
The q-line is that drawn between the intersection of the operating lines,
and where the feed composition lies on the diagonal line.

Depending on the state of the feed, the feed lines will have different
slopes. For example,
q = 0 (saturated
vapour)
q = 1 (saturated
liquid)
0 < q
< 1 (mix of liquid and vapour)
q > 1
(subcooled liquid)
q < 0
(superheated vapour)
The q-lines
for the various feed conditions are shown in the diagram on the left.
|
Using Operating
Lines and the Feed Line in McCabe-Thiele Design
|
If we have information
about the condition of the feed mixture, then we can construct the q-line
and use it in the McCabe-Thiele design. However, excluding the equilibrium
line, only two other pairs of lines can be used in the McCabe-Thiele
procedure. These are:
feed-line and rectification section operating line
feed-line and stripping section operating line
stripping and rectification operating lines
This is because
these pairs of lines determine the third.
|
OVERALL COLUMN DESIGN
|
Determining the number of stages required for the desired degree
of separation and the location of the feed tray is merely the first
steps in producing an overall distillation column design. Other things
that need to be considered are tray spacings; column diameter; internal
configurations; heating and cooling duties. All of these can lead to
conflicting design parameters. Thus, distillation column design is often
an iterative procedure. If the conflicts are not resolved at the design
stage, then the column will not perform well in practice. The next set
of notes will discuss the factors that can affect distillation column
performance.
|