Overview

HP Compaq dc7700 Business PC


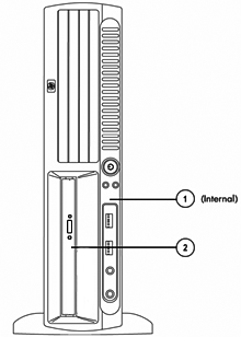
Small Form Factor
1. Monitor (sold separately)

7.

(1) 3.5" internal bay
2. 2-Button Scroll Mouse (PS/2) or Optical Scroll Mouse (PS/2 or USB) 8. 240-watt or 240-watt high efficiency 80 PLUS® Active Power Factor Correction (PFC) power supply
3. HP Standard Keyboard (PS/2 or USB) or HP USB Smartcard Keyboard 9. Rear I/O: (6) USB 2.0, (1) standard serial port, (1) optional serial port, (1) parallel port, (2) PS/2, (1) RJ-45, (1) VGA,
(1) optional DVI graphics port (available via DVI ADD2 adapter), audio in/out
4. Front I/O: (2) USB 2.0, headphone and microphone
5. (1) 3.5" external bay for optional HP 16-in-1 Media Card Reader, diskette drive, or other 3.5" device
6. (1) 5.25" external bay for optional optical drive, or other 5.25" device (bay tilts up for device removal and insertion) 10. (2) low profile PCI slots, (1) low profile PCI Express x1 slot, (1) low profile PCI Express x16 slot
       

Configurable Components - Select Models (localized by Regions)

Model Key and Example
NOTE: This diagram is an example that illustrates how to read the model number. It is not intended to give every available configuration choice specified in the body of this document and may include references to modules that are out of date and no longer available.


 
Ultra-slim Desktop
Small Form Factor
Convertible Minitower
Dimensions
Chassis Dimensions
(H x W x D)
2.95 x 12.4 x 13.18 in
(7.49 x 31.50 x 33.48 cm)
3.95 x 13.3 x 14.9 in
(10.03 x 33.78 x 37.85 cm)
17.65 x 6.6 x 17.8 in
(44.83 x 16.76 x 45.21 cm)
System weight*
12.08 lb (5.48 kg)
17.18 lb (7.79 kg)
31.18 lb (14.14 kg)
System volume
7.9 liters
12.8 liters
33.8 liters
Shipping weight*
19.20 lb (8.71 kg)
25.10 lb (11.39 kg)
39.5 lb (17.92 kg)
Maximum supported weight (desktop orientation)
77.1 lb (35 kg)
77.1 lb (35 kg)
77.1 lb (35 kg)
Shipping box dimensions
(H x W x D)
12.63 x 18.75 x 20 in
(32.08 x 47.63 x 50.8 cm)
12.63 x 18.75 x 20 in
(32.08 x 47.63 x 50.8 cm)
23.38 x 13.06 x 22.88 in
(59.39 x 33.17 x 58.12 cm)
* Configured with 1 hard drive, 1 optical drive, no diskette drive, and no PCI card.
Power Supply
200W power supply – Active PFC
240W power supply – Active PFC
365W power supply – Active PFC
80 PLUS® Power Supply
N/A
240W 80 PLUS* power supply – Active PFC
365W 80 PLUS* power supply – Active PFC
* This alternate 80% efficient power supply is a requirement for ENERGY STAR® compliance in conjunction with a select range of processors and modules.
Ports
USB 2.0
8 (2 front, 6 rear)
8 (2 front, 6 rear)
8 (2 front, 6 rear)
Serial
1 optional via Serial & parallel I/O adapter
1 standard with 2nd optional
1 standard with 2nd optional
Parallel
1 optional via Serial & parallel I/O adapter
1
1
PS/2
1 keyboard, 1 mouse
Video
analog for integrated graphics
DVI output
available via ADD2 card, PCI-E x16 card, or PCI card
Support for Multi-Monitor
available via ADD2 card, PCI-E x16 card, or PCI card
Audio
Front – mic and headphone
Rear – line in, line out
Front – mic and headphone
Rear – line in, line out, mic in
NIC (RJ-45)
Integrated Intel 82566DM Gigabit Network Connection Ethernet

   
USDT
SFF
CMT
Chipset Intel Q965 Express chipset
X
X
X

   
USDT
SFF
CMT
Processor and Speed*
One of the following
Intel Celeron Processors:      
Intel Celeron 430 Processor (1.8-GHz, 512K L2 cache, 800-MHz FSB)
X
X
X
Intel Pentium D Processors:
Intel Pentium D 925 Processor (3.0-GHz, 2x2MB L2 cache, 800-MHz FSB)
X
X
X
Intel Pentium D 945 Processor (3.4-GHz, 2x2MB L2 cache, 800-MHz FSB)
X
X
X
Intel Core 2 Duo Processors:      
Intel Core 2 Duo E4300 Processor (1.80-GHz, 2 MB L2 cache, 800-MHz FSB)
X
X
X
Intel Core 2 Duo E4400 Processor (2.00-GHz, 2 MB L2 cache, 800-MHz FSB)
X
X
X
Intel Core 2 Duo E6300 Processor (1.86-GHz, 2 MB L2 cache, 1066-MHz FSB)
X
X
X
Intel Core 2 Duo E6400 Processor (2.13-GHz, 2 MB L2 cache, 1066-MHz FSB)
X
X
X
Intel Core 2 Duo E6600 Processor (2.40-GHz, 4 MB L2 cache, 1066-MHz FSB)
X
X
X
Intel Core 2 Duo E6700 Processor (2.66-GHz, 4 MB L2 cache, 1066-MHz FSB)
X
X
X
*  Intel processor numbers are not a measure of performance. Processor numbers differentiate features within each processor family, not across different processor families.

   
USDT
SFF
CMT
Intel vPro Technology* Uses AMT 2.0 (Active Management Technology) for network alerting and management of systems regardless of power state, as well as operating system-absent environments
X
X
X
* Units configured with this feature are referred to as HP Compaq dc7700p Business PCs.

Memory

DDR2 SYNCH DRAM NON-ECC MEMORY
Memory upgrades are accomplished by adding single or multiple DIMMs of the same or varied sizes. This chart does not represent all possible memory configurations. The Intel Q965 Express chipsets support non-ECC DDR2 PC2-5300 (667-MHz) and PC2-6400 (800-MHz) memory.

CAUTION: You must shut down the computer and disconnect the power cord before adding or removing memory modules. Regardless of the power-on state, voltage is always supplied to the memory modules as long as the computer is plugged in to an active AC outlet. Adding or removing memory modules while voltage is present may cause irreparable damage to the memory modules or system board.

HP recommends dual-channel symmetric configurations for maximum performance.
For best performance, add the same amount of total memory to each channel and do not mix speeds. For dual-channel symmetric performance, the total amount of memory in each channel must be equal. If speeds are mixed, speed will default to the slowest DIMM.

   
Ultra-slim Desktop  
   
Maximum Memory* Supports up to 3 GB of DDR2 SYNCH DRAM. Slot 1 is black and must always be populated. Not all memory configurations possible are represented below.
 
DIMM Size
Slot
 
Channel A
Channel B
 
1 (black)
2 (white)
3 (white)
512-MB
512-MB
 
 
512-MB (dual-channel symmetric)
256-MB
 
256-MB
1-GB
1-GB
 
 
1-GB (dual channel symmetric)
512-MB
 
512-MB
3-GB maximum
1-GB
1-GB
1-GB
* The Intel Q965 Express chipset includes a built-in Management Engine (ME), which allocates memory for manageability functions. Management Engine memory is shared with system memory. If the PC contains a single DIMM, 8 MB of memory is pre-allocated for it at system startup. If the PC contains two DIMMs, 16 MB of memory is pre-allocated. This memory is not made available to the operating system, just as pre-allocated video memory is not available.
 
Small Form Factor and Convertible Minitower
 
Maximum Memory* Supports up to 8 GB of DDR2 SYNCH DRAM. Slot 1 is black and must always be populated. Not all memory configurations possible are represented below.
NOTE: For systems configured with more than 3 GB of memory and a 32-bit operating system, all memory may not be available due to system resource requirements.
Addressing memory above 4 GB requires a 64-bit operating system.
   
DIMM Size
Slot
 
Channel A
Channel B
 
1 (black)
2 (white)
3 (white)
4 (white)
512-MB
512-MB
 
 
  
512-MB (dual-channel symmetric)
256-MB
 
256-MB
 
1-GB
1-GB
 
 
1-GB (dual-channel symmetric)
512-MB
 
512-MB
 
1-GB (dual-channel symmetric)
256-MB
256-MB
512-MB
 
2-GB (dual-channel symmetric)
1-GB
512-MB
512-MB
2-GB (dual-channel symmetric)
512-MB
512-MB
512-MB
512-MB
4-GB
(dual-channel symmetric)
1-GB
1-GB
1-GB
1-GB
8-GB maximum
(dual-channel symmetric)
2-GB
2-GB
2-GB
2-GB
 
* The Intel Q965 Express chipset includes a built-in Management Engine (ME), which allocates memory for manageability functions. Management Engine memory is shared with system memory. If the PC contains a single DIMM, 8 MB of memory is pre-allocated for it at system startup. If the PC contains two DIMMs, 16 MB of memory is pre-allocated. This memory is not made available to the operating system, just as pre-allocated video memory is not available.
 
Memory Configurations – One of the following  
USDT
SFF
CMT
512-MB DDR2 Synch Dram PC2-6400 (800-MHz) Non ECC (1 x 512)
X
X
X
512-MB DDR2 Synch Dram PC2-6400 (800-MHz) Non ECC (2 x 256)
X
X
X
1-GB DDR2 Synch Dram PC2-6400 (800-MHz) Non ECC (1 x 1GB)
X
X
X
1-GB DDR2 Synch Dram PC2-6400 (800-MHz) Non ECC (2 x 512)
X
X
X
2-GB DDR2 Synch Dram PC2-6400 (800-MHz) Non ECC (2 x 1GB)
X
X
X
2-GB DDR2 Synch Dram PC2-6400 (800-MHz) Non ECC (4 x 512)
X
X
3-GB DDR2 Synch Dram PC2-6400 (800-MHz) Non ECC (3 x 1GB)
X
X
X
4-GB DDR2 Synch Dram PC2-6400 (800-MHz) Non ECC (4 x 1GB)
X
X
256-MB DDR2 Synch Dram PC2-5300 (667-MHz) Non ECC (1 x 256)
X
X
X
512-MB DDR2 Synch Dram PC2-5300 (667-MHz) Non ECC (1 x 512)
X
X
X
512-MB DDR2 Synch Dram PC2-5300 (667-MHz) Non ECC (2 x 256)
X
X
X
1-GB DDR2 Synch Dram PC2-5300 (667-MHz) Non ECC (1 x 1GB)
X
X
X
1-GB DDR2 Synch Dram PC2-5300 (667-MHz) Non ECC (2 x 512)
X
X
X
2-GB DDR2 Synch Dram PC2-5300 (667-MHz) Non ECC (2 x 1GB)
X
X
X
2-GB DDR2 Synch Dram PC2-5300 (667-MHz) Non ECC (4 x 512)
X
X
3-GB DDR2 Synch Dram PC2-5300 (667-MHz) Non ECC (3 x 1GB)
X
X
X
4-GB DDR2 Synch Dram PC2-5300 (667-MHz) Non ECC (4 x 1GB)
X
X

Expandability
USDT
SFF
CMT
PCI slots
Optional, requires PCI riser:
1 full-height (4.2"), length (6.6")
2 low-profile (2.5"), length (6.6") standard;
2 full-height (4.2"), length (6.875") via optional riser card.
NOTE: With riser card option, PCIe x1 and PCIe x16 slots are not accessible.
2 full-height (4.2"), length (13.4") standard;
(2 additional full-height slots available via optional PCI extender card)
   Max power per slot
25W
25W
25W
PCI Express x16 slot
Optional, requires PCIe x16 riser:
1 low-profile (3.987"), length (6.60")
1 low-profile (2.5"), length (6.6")
1 full-height (4.2"), length (10.5")
   Max power per slot
25W
25W
75W
PCI Express x1 slot
N/A
1 low profile (2.5"), length (6.6")
1 full-height (4.2"), length (13.4")
   Max power per slot
N/A
10W
10W
External Bays
1 Slimline (WxDxH):
128 x 127 x 12.7 mm
2
4
   3.5"
N/A
1
1
   5.25"
N/A
1 (length 8.189")
3 (2 – length 8.189", 1 – length 5.71")
Internal 3.5" HDD Bays
1
1
2
Hard Drive Controller (PCI) Supported
Serial ATA (support for SATA 1.5-Gb/s and 3.0-Gb/s hard drives)
Hard Drive and Optical SATA Interfaces Supported
1 Serial ATA interface
3 Serial ATA interfaces
4 Serial ATA interfaces

Ultra-slim Desktop Small Form Factor Convertible Minitower

Storage – Drive Support
 
USDT
SFF
CMT
 
Slimline Drive Bay
3.5" Serial ATA Hard Drive
Diskette Drive or PCI Media Card Reader (optional)
Storage Drive Bay
3.5" Serial ATA Hard Drives
Diskette Drive
PCI Media Card Reader (optional)
Storage Drive Bays for multiple Optical Drives
3.5" Serial ATA Hard Drives
Quantity Supported
1
1
1
1
2
1
1
3
3
Position Supported
,
, , ,
, ,
, ,
Controller
SATA to IDE Bridge
SATA
Diskette Controller or
USB header on PCI card
SATA
SATA
Diskette Controller
USB header on PCI card
SATA
SATA

   
USDT
SFF
CMT
Hard Drive –
One or two of the following
80-GB SATA 3.0-Gb/s Hard Drive (8MB Cache, 7200 rpm) X X X
160-GB SATA 3.0-Gb/s Hard Drive (8MB Cache, 7200 rpm) X X X
250-GB SATA 3.0-Gb/s Hard Drive (8MB Cache, 7200 rpm) X X X
80-GB SATA 3.0-Gb/s Hard Drive (8MB Cache, 10K rpm)   X X
160-GB SATA 3.0-Gb/s Hard Drive (8MB Cache, 10K rpm)   X X
RAID 80-GB SATA 3.0-Gb/s Hard Drive (7200 rpm)   X X
RAID 160-GB SATA 3.0-Gb/s Hard Drive (7200 rpm)   X X
RAID 250-GB SATA 3.0-Gb/s Hard Drive (7200 rpm)   X X
2nd hard drive, 80-GB SATA 3.0-Gb/s Hard Drive (8MB Cache, 7200 rpm)   X X
2nd hard drive, 160-GB SATA 3.0-Gb/s Hard Drive (8MB Cache, 7200 rpm)   X X
2nd hard drive, 250-GB SATA 3.0-Gb/s Hard Drive (8MB Cache, 7200 rpm)   X X
Removable 3.5" 80GB SATA 3.0 Gb/s (7200 rpm) – occupies 5.25" optical bay   X X
Removable 3.5" 160GB SATA 3.0 Gb/s (7200 rpm) – occupies 5.25" optical bay   X X
Removable 3.5" 250GB SATA 3.0 Gb/s (7200 rpm) – occupies 5.25" optical bay   X X

Removable Storage
One or more of the following depending on form factor (see Storage section below)
Diskette Drives      
1.44-MB Diskette Drive
X
X
Optical Drives
SATA CD-RW/DVD-ROM Combo Drive
X
X
SATA DVD-ROM Drive
X
X
SATA DVD+/-RW (DL/DF) LightScribe Drive
X
X
Slimline Optical Drives
PATA CD-ROM Slim Drive
X
PATA CD-RW/DVD-ROM Combo Slim Drive
X
PATA DVD+/-RW Slim Drive
X
   
PATA DVD-ROM Slim Drive
X

Media Card Reader – One of the following HP 16-in-1 3.5" Media Card Reader w/ PCI card
X
HP 16-in-1 5.25" Media Card Reader w/ PCI card  
 
X

Security Integrated 1.2 TPM Embedded Security Chip X X X
Drive Lock X X X
HP ProtectTools Embedded Security Software X X X
Serial, Parallel, USB Enable/Disable (via BIOS) X X X
Removable Media Write/Boot Control X X X
Power-On Password (via BIOS) X X X
Setup Password (via BIOS) X X X
Solenoid Hood Lock / Sensor   X X
Hood Removal Sensor X    

NIC Intel 82566DM Gigabit Network Connection (integrated on system board)
X
X
X
Intel PRO/1000 PT PCIe Gigabit NIC (full height bracket)
X
Intel PRO/1000 PT PCIe Gigabit NIC (low profile bracket)
X
Broadcom NetXtreme Gigabit PCIe NIC (full height bracket)
X
Broadcom NetXtreme Gigabit PCIe NIC (low profile bracket)
X*
X
* Requires optional PCIe riser card.      

Modem Agere 2006 PCI 56K International SoftModem (full height)
X*
X*
X
Agere 2006 PCI 56K International SoftModem (low profile)
 
X
* Requires optional PCI riser card.      

Graphics Integrated Intel Graphics Media Accelerator 3000
X
X
X
DVI-D ADD2 SDVO single head Graphics Adapter for USDT (PCIe x16)
X
DVI-D ADD2 SDVO single head low profile Graphics Adapter (PCIe x16)
X
 
DVI-D ADD2 SDVO single head full-height Graphics Adapter (PCIe x16)    
X
ATI Radeon X1300 (256MB SH) low profile PCIe Card, DVI w/TV
X*
X
 
ATI Radeon X1300 (256MB SH) full-height PCIe Card, DVI w/TV    
X
ATI Radeon X1300 Pro (256MB DH) low profile PCIe Graphics Card
X*
X
ATI Radeon X1300 Pro (256MB DH) full-height PCIe Graphics Card
X
ATI Radeon X1600XT (256MB DH) full-height PCIe Card, DVI w/TV-out
X
NVIDIA Quadro NVS 280 (64MB DH) PCI VGA Card
X**
X***
X***
NVIDIA Quadro NVS 285 (128MB DH) PCIe x16 VGA Card
X*
X***
X***
NVIDIA Quadro NVS 290 (256MB DH) PCIe x16 Graphics Card
X*
X***
X***
* USDT requires optional PCIe riser card.
** USDT requires optional PCI riser card.
*** NVIDIA Quadro NVS 290, 285 and NVS 280 graphics cards can be
   combined to provide support for four monitors.
     

Audio Integrated High Definition audio with Realtek 4-channel ALC262 codec (all ports are stereo)
X
X
X
Microphone and Headphone front ports
X
X
X
Microphone rear port*    
X
Line-out and Line-In rear ports*
X
X
X
Multistreaming capable*
X
X
X
Internal Speaker
X
X
X
* Rear audio ports are re-taskable as Line-in, Line-out, or Microphone-in. External speakers must be powered externally. Multistreaming can be enabled in the Realtek control panel to allow independent audio streams to be sent to/from the front and rear jacks. This allows for different audio applications to use separate audio ports on the system. For example, the front jacks could be used with a headset for a communications application while the rear jacks are being used with external speakers and a multimedia application.

Input Devices Keyboard – One of the following      
HP PS/2 Standard Keyboard
X
X
X
HP USB Standard Keyboard
X
X
X
HP USB Smartcard Keyboard
X
X
X
  Mouse – One of the following      
  HP PS/2 2-Button Scroll Mouse
X
X
X
  HP PS/2 2-Button Optical Scroll Mouse
X
X
X
  HP USB 2-Button Optical Scroll Mouse
X
X
X

Miscellaneous HP FireWire / IEEE 1394 PCI Card (full height) X* X* X
HP FireWire / IEEE 1394 PCI Card (low profile)   X  
PCI Express riser card – adds 1 low profile PCIe x16 slot X    
PCI riser card – adds 1 full-height PCI slot X    
PCI riser card – adds 2 full-height PCI slots
NOTE: Low profile slots are unusable with riser card installed.
  X  
PCI extender card for CMT (adds 2 PCI slots)     X
PCI Serial and parallel I/O adapter X**    
2nd serial port adapter (full height)     X
2nd serial port adapter (low profile)   X  
Tower stand X X  
Configure dc7700 CMT in desktop orientation     X
*Requires optional PCI riser card.
**Occupies same location as PCI riser card, so both cannot be used.
     
contents
 Overview      Configurable Components - Select Models (localized by Regions)      Standard Features and Configurable Components      After-Market Options (availability may vary by region)      Technical Specifications      Technical Specifications - Audio      Technical Specifications - Communications      Technical Specifications - Graphics      Technical Specifications - Hard Drives      Technical Specifications - Input/Output Devices      Technical Specifications - Optical Storage      Technical Specifications - Removable Storage      Technical Specifications - Environmental Data line.gif (50 bytes)

After-Market Options (availability may vary by region)

   
USDT
SFF
CMT
After-Market Options Part Number
Communications Wireless LAN
 
HP BT450 USB Bluetooth Wireless Printer and PC Adapter
X
X
X
Q6398A#ABA
HP Wireless A+G PCI Card (North America only)
X
X
X
EA118AA
NICs
 
Broadcom NetXtreme Gigabit Ethernet PCI Express x1 Card
X
X
X
EA833AA
Intel/PRO 1000 PT PCIe Gigabit NIC Card
X**
X
X
EH352AA
Modem
 
Agere 2006 PCI 56K International SoftModem
X*
X
X
EK694AA
Connectivity        
HP Surge Protector, LAN & Printer Cable
X
X
X
RT174AA
* USDT requires optional PCI riser card.
** USDT requires optional PCIe riser card.
       

Office 2007 Media-less License Kits (MLKs) MS Office Basic Edition 2007 – Media-less License Kit
X
X
X
RZ361A#ABA
MS Office Small Business Edition 2007 – Media-less License Kit
X
X
X
RZ365A#ABA
MS Office Professional Edition 2007 – Media-less License Kit
X
X
X
RZ363A#ABA

Graphics Single head solutions        
HP ADD2 SDVO PCIe DVI-D Adapter (PCIe x16)
X*
X
X
DY674A
ADD2 SDVO PCIe VGA Adapter
X*
X
X
KH540AA
ATI Radeon X1300 (256MB SH) PCIe Graphics Card
X*
X
X
AG392AA
Multi head solutions
 
ATI Radeon X1300 (256MB DH) PCIe Graphics Card
X*
X
X
AH050AA
ATI Radeon X1600 XT 256MB Dual Head PCIe x16, full height Graphics Card
X
KA647AA
NVIDIA Quadro NVS285 (128MB DH) PCIe Graphics Card
X*
X
X
RD069AA
NVIDIA Quadro NVS 290 Dual Head PCIe x16, low profile Graphics Card
X*
X
X
KG748AA
NVIDIA GeForce 8400 GS 256MB Dual Head PCIe x1, low profile Graphics Card
X
X
X
GJ120AA
NVIDIA Quadro NVS 280 Dual Head, low profile Graphics Card X X X DY599A
HP DMS59 DVI Dual-head Connector Cable**
X**
X
X
DL139A
* USDT requires optional PCIe riser card (EU054AA).
** Requires NVIDIA Quadro NVS285 PCIe Graphics Card
 

Hard Drives Serial ATA Hard Drives        
HP 80-GB SATA 3.0-Gb/s Hard Drive
X
X
X
PY276AA
HP 160-GB SATA 3.0-Gb/s Hard Drive
X
X
X
PY277AA
HP 250-GB SATA 3.0-Gb/s Hard Drive
X
X
X
PY278AA

Input/Output Devices Keyboards        
HP PS/2 Standard Keyboard
X
X
X
DT527A#ABA
HP USB Standard Keyboard
X
X
X
DT528A#ABA
HP USB Smartcard Keyboard
X
X
X
ED707AA#ABA
Pointing Devices  
HP PS/2 2-Button Scroll Mouse
X
X
X
DD440B
HP PS/2 2-Button Optical Scroll Mouse
X
X
X
EY703AA
HP USB 2-Button Optical Scroll Mouse
X
X
X
DC172B

Memory (DIMMs) PC2-5300 (DDR2 667-MHz) DIMMs Non-ECC        
HP 2-GB PC2-5300 (DDR2 667-MHz) DIMM
X
X
X
PX977AA
HP 1-GB PC2-5300 (DDR2 667-MHz) DIMM
X
X
X
PX976AA
HP 512-MB PC2-5300 (DDR2 667-MHz) DIMM
X
X
X
PX975AA
HP 256-MB PC2-5300 (DDR2 667-MHz) DIMM
X
X
X
PX974AA
PC2-6400 (DDR2 800-MHz) DIMMs  
HP 1-GB PC2-6400 (DDR2 800-MHz) DIMM
X
X
X
AH058AA
HP 512-MB PC2-6400 (DDR2 800-MHz) DIMM
X
X
X
AH056AA
HP 256-MB PC2-6400 (DDR2 800-MHz) DIMM
X
X
X
AH054AA

Monitors CRTs
HP s7540 17" (16.0" vis) CRT Monitor
PF997AA#ABA
TFTs
HP L1506 15" TFT Flat Panel Monitor – Analog only
PX848AA#ABA
HP L1706 17" TFT Flat Panel Monitor – Analog only
PX849AA#ABA
HP L1740 17" TFT Flat Panel Display – Analog/Digital
PL766AA#ABA
HP L1745 17" TFT Flat Panel Display – Analog/Digital
GE178AA#ABA
HP L1906 19" TFT Flat Panel Display – Analog only
PX850AA#ABA
HP L1940T 19" TFT Flat Panel Display – Analog/Digital
EM869AA#ABA
HP LP1965 19" TFT Flat Panel Display – Analog/Digital
RA373AA#ABA
HP LP2065 20" TFT Flat Panel Display – Analog/Digital
EF227A4#ABA
Widescreen TFTs  
HP L2045w 20" Widescreen Flat Panel Display – Analog/Digital
RD125AA#ABA
HP LP2465 24" TFT Widescreen Flat Panel Display – Analog/Digital
EF224A4#ABA
HP LP3065 30" TFT Widescreen Flat Panel Display – Analog/Digital
EZ320A4#ABA
GSA Monitors
3PO Offering
Touchscreen TFT  
HP L5006tm 15" Touch Screen Flat Panel Display
RB146AA#ABA
Options
HP Flat Panel Speaker Bar
EE418AA

Multimedia HP USB Powered Speakers
X
X
X
RD628AA
  Flat Panel Speaker Bar
X
X
X
EE418AA

PATA Slim Optical Drives DVD-ROM Drive        
HP PATA DVD-ROM Slim Drive X     AH041AA
Combo Drive        
HP PATA CD-RW/DVD-ROM Combo Slim Drive X     AH042AA
DVD+/-RW Drive        
Slim 8X DVD+/-RW (DL/DF) LightScribe PATA Slim Drive X     AH043AA

SATA Half-Height Optical Drives DVD-ROM Drive        
HP SATA DVD-ROM Drive   X X AH047AA
Combo Drive        
HP SATA CD-RW/DVD-ROM Combo Drive   X X AH046AA
DVD+/-RW Drive        
HP SATA DVD+/-RW (DL/DF) SuperMulti LightScribe Drive   X X
GF343AA

Removable Storage Diskette and Digital Drives        
HP 1.44-MB External USB Diskette Drive X X X DC141B
1.44-MB Internal Floppy Drive     X AG295AA
1.44-MB Internal Floppy Drive   X   AG296AA
Multimedia        
HP 16-in-1 Media Card Reader with PCI Card   X X EM718AA
  Removable Hard Drive        
  HP Removable SATA Hard Drive Enclosure (Frame & Carrier)   X
X
RY102AA
  HP Removable SATA Hard Drive Enclosure (Carrier Only)   X X RY103AA

Security Kensington Lock X X X PC766A
HP Business PC Security Lock X X X TBD
HP (USDT) Wall Mount Security Sleeve* X     PA719A
HP (SFF) Wall Mount Security Sleeve**   X   PA717A
HP USB Smartcard Keyboard X X X ED707AA#ABA
Solonoid Lock     X DE618A
Solonoid Lock   X   PT839AA
HP Smart Data Protection Service X X X BB731UT
* Dimensions (W x H x L): 12.7 x 3.5 x 12.0 inches; Weight: 3.8 lb
** Dimensions (W x H x L): 13.5 x 4.4 x 14.4 inches; Weight: 5.9 lb

Software HP Client Configuration Manager, Premium Edition
X
X
X
T3488AA
(use T3489AA for 1000 licenses)
Altiris Client Management Suite Level 1
  Includes:
  Altiris Deployment Solution
  Altiris Inventory Solution
  Altiris Application Metering Solution
  Altiris Carbon Copy Solution
  Altiris Software Delivery Solution
  Altiris Application Management Solution
  Altiris Patch Management Solution
X
X
X
DR605A
(use DR606A for 1000+ licenses)

Brackets/Stands HP Integrated Work Center Stand X     DL641B
  Tower Stand   X   PS797A
  5.25" Blank Bezel Kit (Carbonite 50/Bulk Pack)   X X DC177B

Miscellaneous Accessories HP Serial & Parallel IO Adapter
X
PD825A
HP 2nd Serial Port
X
X
PA716A
HP (USDT) PCI Riser Board
X
ED247AA
HP (USDT) PCIe Riser Board
X
EU054AA
HP (SFF) PCI Riser Board
X
PD824A
HP PCI Extender
X
DC179B
HP FireWire / IEEE 1394 PCI Card
X*
X
X
PA997A
Belkin USB to Serial Adapter
X
X
X
EM449AA
  Cat5e Patch Cable
X
X
X
AH122AA
  Firewire (1394) Cable
X
X
X
AH123AA
  DVI to DVI cable
X
X
X
DC198A
  7-outlet Surge Protector
X
X
X
AG290AA#ABA
contents
 Overview      Configurable Components - Select Models (localized by Regions)      Standard Features and Configurable Components      After-Market Options (availability may vary by region)      Technical Specifications      Technical Specifications - Audio      Technical Specifications - Communications      Technical Specifications - Graphics      Technical Specifications - Hard Drives      Technical Specifications - Input/Output Devices      Technical Specifications - Optical Storage      Technical Specifications - Removable Storage      Technical Specifications - Environmental Data line.gif (50 bytes)

Technical Specifications

Unit Environment and Operating Conditions
Ultra-slim Desktop
Small Form Factor
Convertible Minitower

General Unit Operating Guidelines

  • Keep the computer away from excessive moisture, direct moisture and the extremes of heat and cold, to ensure that unit is operated within the specified operating range.
  • Leave a 10.2 cm (4 in) clearance on all vented sides of the computer to permit the required airflow.
  • Never restrict airflow into the computer by blocking any vents or air intakes.
  • Do not stack computers on top of each other or place computers so near each other that they are subject to each other's re-circulated or preheated air.
  • Occasionally clean the air vents on the front, back, and any other vented side of the computer. Lint, dust and other foreign matter can block the vents and limit the airflow.
  • If the computer is to be operated within a separate enclosure, intake and exhaust ventilation must be provided on the enclosure, and the same operating guidelines listed above will still apply.
Temperature Range Operating: 50° to 95° F (10° to 35° C)*
Non-operating: -22° to 140° F(-30° to 60° C)
Relative Humidity Operating: 10% to 90% (non-condensing at ambient)
Non-operating: 5% to 95% (non-condensing at ambient)
Maximum Altitude (unpressurized) Operating: 10,000 ft (3048 m)
Non-operating: 30,000 ft (9144 m)
* Operating temperature is de-rated 1.0 deg C per 300 m (1000 ft) to 3000 m (10,000 ft) above sea level, no direct sustained sunlight. Maximum rate of change is 10 deg C/Hr. The upper limit may be limited by the type and number of options installed.
 
Power Supply
Ultra-slim Desktop
Small Form Factor
Convertible Minitower
Power Supply
200 watt custom power supply – Active PFC)
240 watt custom power supply – Active PFC
365 watt custom power supply – Active PFC)
Operating Voltage Range
90 – 264 VAC
90 – 264 VAC
90 – 264 VAC
Rated Voltage Range
100 – 240 VAC
100 – 240 VAC
100 – 240 VAC
Rated Line Frequency
50/60 Hz
50/60 Hz
50/60 Hz
Operating Line Frequency Range
47 – 63 Hz
47 – 63 Hz
47 – 63 Hz
Rated Input Current
4A
4A
6A
Rated Input Current 80 PLUS*
N/A
3.5A
5A
System Heat Dissipation
Typical 300 btu/hr
(76 kg-cal/hr)
Maximum 1050 btu/hr
(265 kg-cal/hr)
Typical 307 btu/hr
(77 kg-cal/hr)
Maximum 1260 btu/hr
(318 kg-cal/hr
Typical 307 btu/hr
(77 kg-cal/hr)
Maximum 1916 btu/hr
(483 kg-cal/hr)
System Heat Dissipation
80 PLUS* Power Supply
N/A
Typical 239 btu/hr
(60 kg-cal/hr)
Maximum 1024 btu/hr
(258 kg-cal/hr
Typical 239 btu/hr
(60 kg-cal/hr)
Maximum 1557 btu/hr
(392 kg-cal/hr)
Power Supply Fan
70mm variable speed
80mm variable speed
92mm variable speed
ENERGY STAR Compliant
80 PLUS* Power Supply
X
X
X
FEMP Standby Power Compliant
(<2W in S5 – Power Off)**
X
X
X
Power Consumption in ES Mode – Suspend to RAM (S3) (Instantly Available PC)
< 3W
< 3W
< 3W
* This 80% efficient power supply is a requirement for ENERGY STAR compliance in conjunction with a select range of processors and modules.
** Power consumption in the Off/Apparent Off mode is measured and reported with the network interface controller "Wake on LAN" feature disabled in F10 Setup (default is "enabled").
 
ROM BIOS Information

Key features of the HP BIOS in the dc7700 include:

  • Deployment and manageability – HP BIOS provides several technologies that help integrate the HP Business desktop computer into the enterprise, such as PXE, remote configuration, remote control, and F10 Setup support for 12 languages. Select models offer Intel vPro technology including AMT (Active Management Technology).
  • Stability – HP BIOS supports the HP stable product roadmap by releasing only critical BIOS changes to the factory and advanced change notification.
  • Security – HP BIOS Configuration for ProtectTools offers a robust and flexible set of security features to help the system administrator secure their systems from removal of sensitive data, and help prevent access by unauthorized users.
  • Thermal and power management – The HP BIOS provides and enables thermal and power management technologies to assist in operating the HP Business Desktop computer in any enterprise environment.
  • Serviceability – HP BIOS provides diagnostic and detailed service information.
  • Upgrades and recovery – HP BIOS provides numerous ways to upgrade HP Business Desktop computers, including BIOS updates from within DOS (Flashlite), BIOS updates from within Windows (HPQFlash, SSM), HP Client Manager, and fail-safe recovery. In addition, the HP Business Desktop BIOS Utilities tool enables replicated BIOS setup throughout the Enterprise; it is available from within the BIOS software and from the support website.

Additional HP BIOS Features

  • Power-On password – Helps prevent an unauthorized user from powering on the system. After a TPM Basic User password is established in windows, the user or admin can require TPM hardware based authentication during the power-on process.
  • Administrator password – Also known as the setup password, this helps prevent unauthorized changes to the system configuration. If the administrator password is not known, the BIOS version cannot be changed and changes cannot be made to BIOS settings using F10 setup or under the OS.
  • Advanced Configuration and Power Interface (ACPI) – Represents a significant innovation in power and configuration management, allowing operating systems and applications to manage power based on activity and usage. HP Compaq dc7700 models use ACPI to provide power conservation features under Windows XP.
 
Other Features Description
ACPI-Ready Hardware

Advanced Configuration and Power Management Interface (ACPI).

  • Allows the system to wake from a low power mode.
  • Controls system power consumption, making it possible to place individual cards and peripherals in a low-power or powered-off state without affecting other elements of the system.
SMBIOS Ver. 2.5 System Management BIOS, for system management information
Wired for Management Support Intel-driven, industry-wide initiative to make Intel architecture-based PCs, servers and mobile computers more inherently manageable right out of the box and over the network
Dual-State Power Button Power button acts as both an on/off button and suspend-to-sleep button
 
Serviceability Features of System
Dual Color Power LED on Front of Computer (Indicates Normal Operations and Fault Conditions)
Diagnostic LED Explanation Table Number of 1-second red LED blinks followed by 2-second pause, then repeats:
2-processor thermal protection activated
3-processor not installed
4-power supply failure
5-memory error
6-video error
7-PCA failure (ROM detected failure prior to video)
8-invalid ROM, bootblock recover mode
  • System/Emergency ROM
  • Flash ROM
  • CMOS Battery Holder for easy Replacement
  • Flash Recovery with Video
    Configuration Record SW
  • 5 Aux Power LED on System PCA
  • Processor ZIF Socket for easy Upgrade
  • Over-Temp Warning on Screen (Requires IM Agents)
  • Clear Password Jumper
  • DIMM Connectors for easy Upgrade
  • HP Backup and Recovery Manager
  • Clear CMOS Button
  • NIC LEDs (integrated) (Green & Amber)
 
Serviceability Features of Chassis
  • Dual Color Power and HD LED – To Indicate Normal Operations and Fault Conditions
  • Color coordinated cables and connectors
  • Tool-less Hood Removal
  • Front power switch
  • System memory can be upgraded without removing the system board or any internal components
  • Tool-less Hard Drive, CD & Diskette Removal
  • Green Pull Tabs, and Quick Release Latches for easy Identification

 

  • Tool-less System Board Removal
NOTE: Thumb screw release mechanism is used with the Ultra-slim Desktop chassis cover.
   
Feature Description
AMT 2.0 support (Active Management Technology) Select models offer new Intel vPro Technology utilizing AMT 2.0 for network alerting and management of systems regardless of power state, as well as operating system-absent environments.
ASF 2.0 support (Alert Standard Format) Industry-standard specification for network alerting in operating system-absent environments
Tower Product can be oriented as a tower (in addition to desktop orientation)
Drive Lock* Implementation of the industry standard ATA Security feature set. When enabled, it prevents software access to user data on the drive until one or two user-defined passwords are provided.
Drive Self Tests (DPS)*
  • Drive Protection System
  • A diagnostic hard drive self test. It scans critical physical components and every sector of the hard drive for physical faults and then reports any faults to the user.
  • Running independently of the operating system, it can be accessed through a Windows-based diagnostics utility or through the computer's setup procedure. It produces an evaluation on whether the hard drive is the source of the problem and needs to be replaced.
  • The system expands on the Self-Monitoring, Analysis, and Reporting Technology (SMART), a continuously running systems diagnostic that alerts the user to certain types of failures.
DPS Access through F10 Setup during Boot
SMART Technology*
(Self-Monitoring, Analysis and Reporting Technology)

Allows hard drives to monitor their own health and to raise flags if imminent failures were predicted

  • Predicts failures before they occur. Tracks fault prediction and failure indication parameters such as re-allocated sector count, spin retry count, calibration retry count
  • By avoiding actual hard drive failures, SMART hard drives act as "insurance" against unplanned user downtime and potential data loss from hard drive failure
SMART I – Drive Failure Prediction
SMART II – Off-Line Data Collection
SMART III – Off-Line Read Scanning with Defect Reallocation
* This feature is inoperable when a RAID (Redundant Array of Independent Disks) configuration is enabled.
contents
 Overview      Configurable Components - Select Models (localized by Regions)      Standard Features and Configurable Components      After-Market Options (availability may vary by region)      Technical Specifications      Technical Specifications - Audio      Technical Specifications - Communications      Technical Specifications - Graphics      Technical Specifications - Hard Drives      Technical Specifications - Input/Output Devices      Technical Specifications - Optical Storage      Technical Specifications - Removable Storage      Technical Specifications - Environmental Data line.gif (50 bytes)

Technical Specifications - Audio

High Definition Audio Type Integrated
High Definition Stereo Codec Yes – Realtek ALC262, 4-channel
Audio Jacks Microphone-In (64-K ohm Input Impedance); front and rear stereo analog microphone ports available except for USDT and SFF, which has front stereo microphone only
Line-In (64-K ohm Input Impedance)
Line-Out * (200 ohms Output Impedance, expects at least a 10-K ohm load)
Headphone-Out (1 Ohm Output Impedance, expects at least a 32 ohm load)
* Internal Speaker Amplifier is for Internal Speaker only. External Speakers need to be powered externally. Rear audio ports are re-taskable as Line-in, Line-out, or Microphone-in.
Multistreaming Capable Multistreaming can be enabled in the Realtek control panel to allow independent audio streams to be sent to/from the front and rear jacks.
Sampling 8 kHz – 192 kHz
Wavetable Syntheses (software) Yes – Uses OS soft wavetable
Analog Audio Yes
Number of Channels on Line-Out
(mono/stereo)
Stereo (Left & Right channels)
Internal Audio Speaker Power Rating 1.5 W
Internal Speaker Yes
External Speaker Jack
(Line-Out)
Yes
contents
 Overview      Configurable Components - Select Models (localized by Regions)      Standard Features and Configurable Components      After-Market Options (availability may vary by region)      Technical Specifications      Technical Specifications - Audio      Technical Specifications - Communications      Technical Specifications - Graphics      Technical Specifications - Hard Drives      Technical Specifications - Input/Output Devices      Technical Specifications - Optical Storage      Technical Specifications - Removable Storage      Technical Specifications - Environmental Data line.gif (50 bytes)

Technical Specifications - Communications

Integrated Intel 82566DM Gigabit Network Connection Connector RJ-45
Controller Intel Nineveh Gigabit platform LAN Connect Networking Controller
Memory Integrated 96KbB on chip buffer memory
Data rates supported 10/100/1000 Mbps
Compliance IEEE 802.1P, 802.1Q, 802.2, 802.3, 802.3 ab and 802.3u compliant,
Bus architecture GLCI, LCI interface. Intel specific MAC to PHY interface
Data transfer mode At gigabit GLCI (802.3 serdes) is for Data, LCI (parallel bus)for MDIO, at 10/100 LCI for both data and MDIO, GLCI is idle.
Hardware certifications FCC, B, CE, TUV- cTUVus Mark Canada and United States, TUV- GS Mark for European Union
Power requirement Require 3.3Vaux,1.8V and 1.0V or just 3.3V with integrated regulators
Power consumption 1.16 Watts for 82566, whole LOM 2.53 Watts
ACBS Intel Auto Connect Battery Saving feature
Boot ROM support Yes
Network transfer mode Full-duplex
  Half-duplex (not available for the 1000BASE-T transceiver)
Network transfer rate 10BASE-T (half-duplex) 10 Mbps
10BASE-T (full-duplex) 20 Mbps
100BASE-TX (half-duplex) 100 Mbps
100BASE-TX (full-duplex) 200 Mbps
1000BASE-T (full-duplex) 2000 Mbps
Environmental Operating temperature 32° to 131°F (0° to 55° C)
To 70° C for external regulator
Operating humidity 85% at 131° F (55° C)
Management capabilities WOL, auto MDI crossover, PXE, Muti-port teaming, RSS, Advanced cable diagnostic.
Alerting ASF 2.0 support, AMT 2.0 support on dc7700p models with Intel vPro Technology

Intel PRO/1000 PT PCIe Gigabit NIC Connector RJ-45
Controller Intel 82572EI Gigabit Ethernet Controller
Memory Integrated Dual 48K configurable transmit receive FIFO Buffers
Data rates supported 10/100/1000 Mbps
Compliance IEEE 802.1P, 802,1Q, 802.2, 802.3, 802.3AB and 802.3u compliant, 802.3x flow control
Bus architecture PCI-E 1.0a
Data transfer mode Bus-master DMA
Hardware certifications FCC, B, CE, TUV- cTUVus Mark Canada and United States, TUV- GS Mark for European Union
Power requirement Aux 3.3V, 3.0 Watts in 1000base-T and 2.0 Watts in 100Base-T
Boot ROM support Yes
Network transfer rate 10BASE-T (half-duplex) 10 Mbps
10BASE-T (full-duplex) 20 Mbps
100BASE-TX (half-duplex) 100 Mbps
100BASE-TX (full-duplex) 200 Mbps
1000BASE-T (full-duplex) 2000 Mbps (actual rate limited by PCI Bus)
Environmental Operating temperature 32° to 131°F (0° to 55° C)
Operating humidity 85% at 131° F (55° C)
Dimensions 6.4 x 2.6 x 0.8 in (16.3 x 6.6 x 1.9 cm)
Management capabilities ASF, WOL, PXE, DMI, WFM 2.0.

Agere 2006 PCI 56K International SoftModem Data Transmission Technology speeds: 56,000 Kbps maximum downstream data, controllerless
NOTE: 56 Kbps technology refers to download speeds only and requires compatible modems at server sites. Other conditions may limit modem speed. FCC limitations allow a maximum of 53 Kbps during download transmissions.
Data Speeds (Upload only) 33,600/31,200/28,800/26,400/21,600/19,200/16,800/14,400/12,000/
9,600/7,200/4,800/2,400/1,200/300
Data Standards ITU-T V.90, ITU-T, ITU-T V.34, V.44, V.42, V.42bis21, V.32bis, Bell 212A, and Bell 103
Fax Speeds 14,400/12,000/9,600/7,200/4,800/2,400/1,200/300 b/s
Fax Mode Capabilities ITU-T T.31 class 1 FAX, V. 17, V.29, V.27ter, and V.21 Channel 2
Error Correction and Data Compression V.44, 42bis, V.42 and MNP2-5
Power Management ACPI; PPMI 1.1 and wake support with PME and Vaux; meets PCI 2.3 requirements and PC 2001 requirements
Upgradeability Driver upgradeable for future enhancements
Video ITU-T V.80 video ready interface
Other TIA/EIA 602 standard AT command set
Integrated DTE interface with speeds of up to 115.2 Kbps, parallel 16550a UART-compatible interface
Optional ring wakeup signal
Operating Temperature 32° to 158° F (0° to 70° C)
Operating Humidity 20% to 90%, non-condensing
Power Requires a 3.3-V auxiliary power rail on PCI bus
Uses only one PCI load (i.e., one grant/request pair), one shared IRQ, one electrical load
Chipset Agere Systems SV92PL – Integrated PCI interface with 5-V tolerant buffers and CardBus support
Dimensions (L X H) Complies with PCI low profile specifications-6.7 x 2.3 in (17.0 x 5.8 cm) and supports high- and low-profile brackets
Connection Single RJ-11 connector
Other Features Digital line protection, call progress monitoring via on-board piezo device, support for high profile and low profile brackets, PnP ID support
Safety UL recognized to UL 1950, 3rd edition (U.S. and Canada); IEC 950 (TUV, NEMKO, DEMKO, SEMKO); CE Mark, EC 950 (TUV, NEMKO, DEMKO, SEMKO, CE mark
EMC FCC Part 15, IC ES003, EN 55022, 3rd edition, EN 55024, annex A, EN 61000-4-6, EN 61000-4-8
Telecom FCC Part 68, IC-CS-03 (Canada); Worldwide PTT approvals
Not available in Korea or the Republic of South Africa.
Health Bare PCB material compliant to 94V-0 or better (marked as such)
Other PC 2001 compliant, PCI version 2.3, WHQL approved; ACPI compliant
contents
 Overview      Configurable Components - Select Models (localized by Regions)      Standard Features and Configurable Components      After-Market Options (availability may vary by region)      Technical Specifications      Technical Specifications - Audio      Technical Specifications - Communications      Technical Specifications - Graphics      Technical Specifications - Hard Drives      Technical Specifications - Input/Output Devices      Technical Specifications - Optical Storage      Technical Specifications - Removable Storage      Technical Specifications - Environmental Data line.gif (50 bytes)

Technical Specifications - Graphics

Integrated Graphics Media Accelerator 3000 3D/2D Controller Microsoft DirectX® 9 based with support for Pixel Shader 2.0, 4:1 anisotropic filtering, Gaussian texture filtering, shadow maps, volumetric textures, double-sided stencil buffers, and 4 pixel pipes.
VGA Controller Integrated
Bus Type PCI Express™ x16 (If an external graphics card is installed in a PCI slot, the internal graphics can be enabled or disabled using the system's BIOS setup utility. If an external graphics card is installed in the PCI Express™ slot, the internal graphics cannot be enabled).
RAMDAC Integrated, 400 MHz
Memory

Graphics memory is shared with system memory. Graphics memory usage varies depending on the amount of system memory installed and system load. 8 MB is pre-allocated for graphics use at system boot time. Additional memory is allocated for graphics as needed using Intel's Dynamic Video Memory Technology (DVMT), to provide an optimal balance between graphics and system memory use.

System memory equal or greater than 512 MB
   8 MB pre-allocated + 248 MB DVMT = max frame buffer of 256 MB

Controller Clock Speed 400 MHz
Overlay Planes Single overlay support with 5x3 filtering
Maximum Color Depth 32 bits/pixel
Maximum Vertical Refresh Rate 85 Hz at up to 1920x1440, 85 Hz at 2048x1536. Varies with mode and configuration. See table below.
Multi-display Support Support for one CRT via the motherboard's VGA connector. Support for an additional DVI-D display via the optional DVI ADD2 card. Dual independent displays and dual synchronous (Twin or Clone mode) displays are supported.
Graphics/Video API Support Microsoft DirectX®9, DirectXVA®, VMR9, GDI/GDI+; OpenGL® 1.4.
Resolutions Supported1 Resolution Maximum Refresh Rate (Hz)
  Analog Monitor Digital Monitor

640 x 480
800 x 600
1024 x 768
1280 x 1024
1600 x 1200
1920 x 1080
1920 x 1200
1920 x 1440
2048 x 1536

85
85
85
85
85
85
85
85
85
60
60
60
60
60
60
60
60
60
1 Modes listed are supported with a single active display. The supported mode list for multiple active displays is a subset of this list. Not all modes will support video playback and some supported modes may use software MC (motion compensation) rather than hardware MC. Not all modes will support 3D acceleration depending on the system configuration (e.g., resolution selected, size of frame buffer, number of installed memory modules, etc.).
NOTE: Other resolutions and refresh rates may be selectable but are not recommended.

DVI ADD2 Graphics Models DY674A Intel DVI ADD2 adapter
Form Factor Low-profile card
DVI-D Connector Compliant with DDWG (Digital Display Working Group) and VESA specifications for a single-link digital DVI (DVI-D) connector.
Dual Head Support Yes, when used with the integrated VGA connector
Display Devices Supported HP L1530
HP L1740
HP L1755
HP L1940
HP L1955
HP L2035
HP L2335
NOTE: The DVI ADD2 card offers optimal performance with any display that meets applicable VESA standards.
Color Depth All modes support 8-bpp, 16-bpp, and 24-bpp color depths
Host Interface Connector Mechanically compliant with PCI-E standard
Complies with the Intel ADD2 and Intel Serial Digital Video Output (SDVO) specifications
Dot Clock 165 MHz maximum
Display Modes Supports display modes that require up to 165-MHz bandwidth on the link, as shown in the following table.
  Resolution 60-Hz LCD 60-Hz 75-Hz 85-Hz
Blanking 5% reduced GTF GTF GTF
640 x 480 VGA Yes Yes Yes Yes
800 x 600 SVGA Yes Yes Yes Yes
1024 x 768 XGA Yes Yes Yes Yes
1280 x 1024 SXGA Yes Yes No No
1600 x 1200 UXGA Yes Yes No No

ATI Radeon X1300 (256MB SH) PCIe Graphics Card Bus Type PCI Express (x16 lanes)
Maximum Vertical Refresh Rate 85 Hz
Display Support Integrated 400 MHz RAMDAC
Display Max Resolution 2048 x 1536
Board Display Options DVI-I + TV
DVI-I supports analog CRT or flat panel or digital flat panel (using DVI-A, DVI-D or DVI-I connector)
DVI-I supports analog CRT or flat panel (with VGA connector and DVI-I to VGA dongle)
TV connector is a 4-pin mini-DIN S-video connector
Board Configuration
128 MB Frame Buffer
Specification Description
Graphics Chip RV515
Core clock 450 MHz
Memory clock 250 MHz
Frame buffer 256 MB DDR2
Languages supported 24 languages: English, Arabic, Chinese Simplified, Chinese Traditional, Czechoslovakian, Danish, Dutch, Finnish, French, German, Greek, Hebrew, Hungarian, Italian, Japanese, Korean, Norwegian, Polish, Portuguese, Russian, Spanish, Swedish, Thai, Turkish
Core Power 25 W (Max board power)
Option kit contents
  • ATI RADEON X1300 PCIe graphics card with full height bracket attached
  • Low profile bracket
  • DVI-to-VGA Adapter
  • Software CD with graphics drivers
  • Warranty documentation
Compliance standards EMC Emissions:
a) FCC Part 15, Subpart B – Unintentional Radiators, Class B Computing Devices for Home & Office Use
b) CISPR22: 1997/EN 55022:1998 – Class B – Limits and methods of measurement of radio disturbance characteristics of Information Technology Equipment
c) Canadian Standard ICES-003 is equivalent to CISPR22
d) Taiwanese Standard BSMI
e) Japanese VCCI
f) Australian C-Tick

EMC Immunity:
CISPR 24:1997/EN 55024:1998 – Information Technology Equipment - Immunity Characteristics – Limits and Methods of Measurement.

Safety:
UL 60950 (USA) & EN 60950 (EU): Safety of Information Technology Equipment, Including Electrical Business Equipment. All boards meet UL PCB flammability requirements.


ATI RADEON X1600XT (256 MB DH) FH PCIe Graphics Card Bus Type PCI Express (x16 lanes)
Maximum Vertical Refresh Rate 85 Hz
Display Support Integrated 400 MHz RAMDAC
Display Max Resolution 2560 x 1600 digital, 2048 x 1536 analog
Board Display Options 2 DVI-I ports (one port supports dual link DVI). DVI-I supports an analog CRT or flat panel with a VGA connector via the provided DVI-I to VGA adapter
  4-pin mini-DIN S-video connector for TV output
Board Configuration Specification Description
Graphics chip RV530
Core clock 590 MHz
Memory clock 690 MHz
Frame buffer 256 MB GDDR3, 128 bit wide
Core Power 56 W (Max board power)

NVIDIA Quadro NVS 280 64MB PCI Dual Head Form Factor Low profile (both ATX and low profile brackets included)
Graphic Controller Integrated Quadro 280 2-D graphics processor unit (GPU)
Bus type PCI
RAMDAC Dual 350 MHz integrated
Memory 64 MB DDR with frame buffer and Texture storage
Connector Single High-density DMS-59 Connector
Dimensions Low-profile, 2.586 x 6.6 in (6.57 x 16.76 cm)
Controller clock speed 250 MHz
Color depth 32-bits/pixel max
Overlay planes One 16-bit Video overlay plane
Maximum vertical refresh rate 85 Hz
Multi-monitor support Dual analog or digital monitors
Dual DVI Support Yes (with kit DL139A)
High-definition Video Processor (HDVP) Full-screen, full-frame video playback of HDTV and DVD content
DVD-ready motion compensation for MPEG-2
Independent hardware color controls for video overlay
Hardware color-space conversion (YUV 4:2:2 and 4:2:0)
IDCT motion compensation
Available graphics drivers Microsoft Windows 2000 and Microsoft Windows XP (Provides full native
Dual View mode, Span or Big Desktop mode, and Clone mode)
NOTE: HP qualified drivers may be preloaded or available from the HP support Web site:
http://welcome.hp.com/country/us/eng/software_drivers.html.
  Analog Resolution Maximum Refresh Rate
640 x 480
800 x 600
1024 x 768
1600 x 1200
1600 x 1200
1600 x 1200
1920 x 1200
1920 x 1200
1920 x 1440
2048 x 1536

240 Hz
240 Hz
200 Hz
170 Hz
150 Hz
100 Hz
85 Hz
85 Hz
75 Hz
60 Hz

Digital Resolution Maximum Refresh Rate
640 x 480
800 x 600
1024 x 768
1152 x 864
1280 x 1024
1600 x 1200
75 Hz
75 Hz
75 Hz
60 Hz
60 Hz
60 Hz (primary only)

NVIDIA Quadro NVS 290 256MB PCIe Dual Head Form Factor Low Profile
Bus Type PCIe x16
Memory 256 MB 400MHz DDR2 SDRAM unified frame buffer, Z-buffer and Texture storage
Connector DMS-59, includes DMS-59 to Dual DVI-I cable. DMS-59 to Dual VGA cable available as an option.
Display resolution support Dual integrated analog display controllers supporting up to two analog displays at 2048x1536 @ 85Hz on both displays or dual digital displays at 1920x1200 (single-link).
NVIEW advanced multi-display desktop and application management seamlessly integrated into Microsoft® Windows®
RAMDAC Integrated dual 400MHz
Color planes 32-bit color buffer
Overlay Planes Hardware supported
nView architecture Advanced multi-display desktop & application management seamlessly integrated into Microsoft Windows.
Multi-Monitor support Dual monitor support
DVI support DMS-59 (to dual DVI-SL)
High-definition Video Processor (HDVP) Full-screen, full-frame video playback of HDTV and DVD content
DVD-ready motion compensation for MPEG-2
Independent hardware color controls for video overlay
Hardware color-space conversion (YUV 4:2:2 and 4:2:0)
IDCT motion compensation
5-tap horizontal by 3-tap vertical filtering
8:1 up/down scaling
Supported graphics APIs OGL 2.1 & DX10 Support; Shader Model 4.0
contents
 Overview      Configurable Components - Select Models (localized by Regions)      Standard Features and Configurable Components      After-Market Options (availability may vary by region)      Technical Specifications      Technical Specifications - Audio      Technical Specifications - Communications      Technical Specifications - Graphics      Technical Specifications - Hard Drives      Technical Specifications - Input/Output Devices      Technical Specifications - Optical Storage      Technical Specifications - Removable Storage      Technical Specifications - Environmental Data line.gif (50 bytes)

Technical Specifications - Hard Drives

7200 rpm Serial ATA Hard Drives 250-GB Capacity 250,059,350,016 bytes
Height 1 in (2.54 cm)
Width Media diameter: 3.5 in (8.89 cm)
Physical size: 4 in (10.2 cm)
Interface Serial ATA (3.0 Gb/s)
Synchronous Transfer Rate (Maximum) Up to 3 Gb/s
Buffer 8 MB
Seek Time (typical reads, includes controller overhead, including settling) Single Track 1.0 ms
Average 8.5 ms
Full-Stroke 18 ms
Rotational Speed 7,200 rpm
Logical Blocks 488,397,168
Operating Temperature 41° to 131° F (5° to 55° C)
       
  160-GB Capacity 163,928,604,672 bytes
Height 1 in (2.54 cm)
Width Media diameter: 3.5 in (8.89 cm)
Physical size: 4 in (10.2 cm)
Interface Serial ATA (3.0 Gb/s)
Synchronous Transfer Rate (Maximum) Up to 3 Gb/s
Buffer 8 MB
Seek Time (typical reads, includes controller overhead, including settling) Single Track 0.9 ms
Average 9.3 ms
Full-Stroke 18 ms
Rotational Speed 7,200 rpm
Logical Blocks 320,173,056
Operating Temperature 41° to 131° F (5° to 55° C)
       
  80-GB Capacity 80,026,361,856 bytes
Height 1 in (2.54 cm)
Width Media diameter: 3.5 in (8.89 cm)
Physical size: 4 in (10.2 cm)
Interface Serial ATA (3.0 Gb/s)
Synchronous Transfer Rate (Maximum) Up to 3 Gb/s
Buffer 8 MB
Seek Time (typical reads, includes controller overhead, including settling) Single Track 2.0 ms
Average 9.3 ms
Full-Stroke 21 ms
Rotational Speed 7,200 rpm
Logical Blocks 156,301,488
Operating Temperature 41° to 131° F (5° to 55° C)

10,000 RPM Serial ATA Hard Drives 160-GB Capacity 160,041,885,696 bytes
Height 1 in (2.54 cm)
Width Media diameter: 3.0 in (7.62 cm)
Physical size: 4 in (10.2 cm)
Interface Serial ATA (1.5 Gb/s), Native Command Queuing enabled
Synchronous Transfer Rate (Maximum) Up to 1.5 Gb/s
Cache 16 Mbytes
Seek Time (typical reads, includes controller overhead, including settling) Single Track 0.3 ms
Average 4.6 ms
Full-Stroke 10.2 ms
Rotational Speed 10,000 RPM
Logical Blocks 312,581,808
Operating Temperature 41° to 131° F (5° to 55° C)
       
  80-GB Capacity 80,026,361,856 bytes
Height 1 in (2.54 cm)
Width Media diameter: 3.0 in (7.62 cm)
Physical size: 4 in (10.2 cm)
Interface Serial ATA (1.5 Gb/s), Native Command Queuing enabled
Synchronous Transfer Rate (Maximum) Up to 1.5 Gb/s
Cache 16 Mbytes
Seek Time (typical reads, includes controller overhead, including settling) Single Track 0.3 ms
Average 4.6 ms
Full-Stroke 10.2 ms
Rotational Speed 10,000 RPM
Logical Blocks 156,301,488
Operating Temperature 41° to 131° F (5° to 55° C)
contents
 Overview      Configurable Components - Select Models (localized by Regions)      Standard Features and Configurable Components      After-Market Options (availability may vary by region)      Technical Specifications      Technical Specifications - Audio      Technical Specifications - Communications      Technical Specifications - Graphics      Technical Specifications - Hard Drives      Technical Specifications - Input/Output Devices      Technical Specifications - Optical Storage      Technical Specifications - Removable Storage      Technical Specifications - Environmental Data line.gif (50 bytes)

Technical Specifications - Input/Output Devices

USB Standard Keyboard Physical
characteristics
Keys 104, 105, 106, 107, 109 layout (depending upon country)
Dimensions (L x W x H) 18.0 x 6.4 x 0.98 in (45.8 x 16.3 x 2.5 cm)
Weight 2 lb (0.9 kg) minimum
Electrical Operating voltage + 5VDC ± 5%
Power consumption 50-mA maximum (with three LEDs ON)
System interface USB Type A plug connector
ESD CE level 4, 15-kV air discharge
EMI – RFI Conforms to FCC rules for a Class B computing device
Microsoft® PC 99 – 2001 Functionally compliant
Mechanical Languages 38 available
Keycaps Low-profile design
Switch actuation 55-g nominal peak force with tactile feedback
Switch life 20 million keystrokes (using Hasco modified tester)
Switch type Contamination-resistant switch membrane
Key-leveling mechanisms For all double-wide and greater-length keys
Cable length 6 ft (1.8 m)
Microsoft PC 99 – 2001 Mechanically compliant
Acoustics 43-dBA maximum sound pressure level
Environmental Operating temperature 50° to 122° F (10° to 50° C)
Non-operating temperature -22° to 140° F (-30° to 60° C)
Operating humidity 10% to 90% (non-condensing at ambient)
Non-operating humidity 20% to 80% (non-condensing at ambient)
Operating shock 40 g, six surfaces
Non-operating shock 80 g, six surfaces
Operating vibration 2-g peak acceleration
Non-operating vibration 4-g peak acceleration
Drop (out of box) 26 in (66 cm) on carpet, six-drop sequence
Drop (in box) 42 in (107 cm) on concrete, 16-drop sequence
Approvals UL, CSA, FCC, CE Mark, TUV, TUV GS, VCCI, BSMI, C-Tick, MIC
Ergonomic compliance ANSI HFS 100, ISO 9241-4, and TUVGS
Kit contents Keyboard, installation guide, warranty card, safety and comfort guide

PS/2 Standard Keyboard Physical
characteristics
Keys 104, 105, 106, 107, 109 layout (depending upon country)
Dimensions (L x W x H) 18.0 x 6.4 x 0.98 in (45.8 x 16.3 x 2.5 cm)
Weight 2 lb (0.9 kg) minimum
Electrical Operating voltage + 5VDC ± 5%
Power consumption 50-mA maximum (with three LEDs ON)
System interface PS/2 6-pin mini din connector
ESD CE level 4, 15-kV air discharge
EMI – RFI Conforms to FCC rules for a Class B computing device
Microsoft PC 99 – 2001 Functionally compliant
Mechanical Languages 38 available
Keycaps Low-profile design
Switch actuation 55-g nominal peak force with tactile feedback
Switch life 20 million keystrokes (using Hasco modified tester)
Switch type Contamination-resistant switch membrane
Key-leveling mechanisms For all double-wide and greater-length keys
Cable length 6 ft (1.8 m)
Microsoft PC 99 – 2001 Mechanically compliant
Acoustics 43-dBA maximum sound pressure level
Environmental Operating temperature 50° to 122° F (10° to 50° C)
Non-operating temperature -22° to 140° F (-30° to 60° C)
Operating humidity 10% to 90% (non-condensing at ambient)
Non-operating humidity 20% to 80% (non-condensing at ambient)
Operating shock 40 g, six surfaces
Non-operating shock 80 g, six surfaces
Operating vibration 2-g peak acceleration
Non-operating vibration 4-g peak acceleration
Drop (out of box) 26 in (66 cm) on carpet, six-drop sequence
Drop (in box) 42 in (107 cm) on concrete, 16-drop sequence
Approvals UL, CSA, FCC, CE Mark, TUV, TUV GS, VCCI, BSMI, C-Tick, MIC
Ergonomic compliance ANSI HFS 100, ISO 9241-4, and TUVGS
Kit contents Keyboard, keyboard software media, installation guide, warranty card, safety and comfort guide

HP USB Smartcard Keyboard
Physical
characteristics
Keys 104, 105, 106, 107, 109 layout (depending upon country)
Form factor USB basic Smart Card keyboard
Colors Carbonite/Silver
Dimensions (H x W x D) 18.2 x 6.3 x 1.3 in (46.3 x 16.1 x 3.3 cm)
Weight 2 lb (0.9 kg) minimum
Electrical Operating voltage + 5VDC ± 5%
Power consumption 100-mA maximum (with four LEDs ON)
System interface USB Type A plug connector
ESD CE level 4, 15-kV air discharge
EMI – RFI Conforms to FCC rules for a Class B computing device
Microsoft PC 99 – 2001 Functionally compliant
Mechanical Languages 30+ available
Keycaps Low-profile design
Switch actuation 55 g nominal peak force with tactile feedback
Switch life 20 million keystrokes (using Hasco modified tester)
Switch type Contamination-resistant membrane
Key-leveling mechanisms For all double-wide and greater-length keys
Cable length 6 ft (1.8 m)
Microsoft PC 99 - 2001 Mechanically compliant
Acoustics 43-dBA maximum sound pressure level
Environmental Operating temperature 50° to 122° F (10° to 50° C)
Non-operating temperature -22° to 140° F (-30° to 60° C)
Operating humidity 10% to 90% (non-condensing at ambient)
Non-operating humidity 20% to 80% (non-condensing at ambient)
Operating shock 40 g, six surfaces
Non-operating shock 80 g, six surfaces
Operating vibration 2-g peak acceleration
Non-operating vibration 4-g peak acceleration
Drop (out of box) 26 in (66 cm) on carpet, six-drop sequence
Drop (in box) 42 in (107 cm) on concrete, 16-drop sequence
SMARTCARD function Support All ISO 7816 smart cards
Interface Reads from and writes to all ISO7816-1, 2, 3, 4 memory and microprocessor smart cards (T=0, T=1)
Chipset SCM STCII
Standard APIs supported PC/SC, EMV2000, SET
Power USB Port
Short circuit detection (protects smart card and reader)
Power supply compliant with ISO7816 and EMV (5V, 60 mA)
Supports 3-V and 5-V cards
Power consumption 250-mA maximum draw (50 mA for the keyboard with three LEDs ON and 200-mA maximum startup current using a high-current, 60-mA smart card)
Communication From card Programmable from 9,600 baud to 115,200 baud
From computer Up to 38,400 baud
Landing mechanism Contact device Friction contact
Card insertions rating Up to 100,000 insertion cycles
Interface modes USB communications through USB port
SCM protocol
Automatic card insertion/removal detection
Reader performance interface USB connection
Electro-magnetic standards Europe 89/336/CEE guideline
USA USAFCC part 15

HP PS/2 Scroll Mouse Dimensions 3.8 x 6.3 x 11.6 cm (1.5 x 2.5 x 4.6 in)
Weight 4.44 oz (126 g)
Environmental Operating temperature 50° to 122° F (10° to 50° C)
Non-operating temperature 22° to 140° F (-30° to 60° C)
Operating humidity 10% to 90% (non condensing at ambient)
Non-operating humidity 20% to 80% (non condensing at ambient)
Operating shock 40 g, 6 surfaces
Non-operating shock 80 g, 6 surfaces
Operating vibration 2 g peak acceleration
Non-operating vibration 4 g peak acceleration
Drop (out of box) 26 in (66 cm) on carpet, 6-drop sequence
Drop (out of box) 1 m on asphalt tile over concrete, 6-drop sequence
Electrical Operating voltage 5 VDC ± 10%
Power consumption 15 mA
System consumption PS/2 mini-din connector
ESD CE level 4, 15 kV air discharge
EMI-RFI Conforms to FCC rules for a Class B computing device
Microsoft
PC99 – 2001
Functionally compliant
Mechanical Resolution 400 ± 20% DPI
Tracking speed 10 in/s (25.4 cm/s) maximum
Acceleration 100 in/s/s (2.54 m/s/s)
Switch actuation 65 g nominal peak force
Switch life 1,000,000 operations (using Hasco modified tester)
Switch type Low force micro-switches
Tracking mechanism life 155 mi (250 km) at average speed of 10 in/s
Cable length 6 ft (1.8 m)
Microsoft PC99 – 2001 Mechanically compliant
Scroll wheel Width 8 mm
Diameter 0.99 in (25.2 mm)
Maximum rotation speed 30 mm/s
Switch type Light force micro-switch
Switch life 1 million operations
Mechanical life Minimum 200,000 revolutions
Regulatory approvals Compliant UL, CSA, FCC, CE Mark, TUV, TUV GS, VCCI, BSMI, C-Tick, MIC

HP PS/2 Optical Scroll Mouse Dimensions (H x L x W) 3.95 x 6.21 x 11.7 cm (1.56 x 2.44 x 4.61 in)
Weight 4.44 oz (126 g)
Environmental Operating temperature -32° to 104°F (0° to 40° C)
Non-operating temperature -4° to 140°F ( -20° to 60° C)
Operating humidity 10% to 90% (non condensing at ambient)
Non-operating humidity 10% to 90% non condensing
Operating shock 40 g, 6 surfaces
Non-operating shock 80 g, 6 surfaces
Operating vibration 2 g peak acceleration
Non-operating vibration 4 g peak acceleration
Drop (out of box) 80 cm height onto asphalt tile over concrete or equivalent, 5-drop in 5 direction except the cable face
Electrical Operating voltage 5 VDC ± 10%
Power consumption 100mA
System consumption PS/2 mini-din connector
ESD CE level 4, 15 kV air discharge
EMI-RFI Conforms to FCC rules for a Class B computing device
Microsoft PC99 – 2001 Functionally compliant
Mechanical Resolution 400 ± 20% DPI
Tracking speed 10 in/s (25.4 cm/s) maximum
Acceleration 100 in/s/s (2.54 m/s/s)
Switch actuation 61 g nominal peak force
Switch life 3,000,000 operations (using Hasco modified tester)
Switch type Low force micro-switches
Tracking mechanism life 155 mi (250 km) at average speed of 10 in/s
Cable length 6 ft (1.8 m)
Microsoft PC99 – 2001 Mechanically compliant
Scroll wheel Width 8 mm
Diameter 1.01 in (25.6 mm)
Maximum rotation speed 48 rats/sec
Switch type Light force micro-switch
Switch life 1 million operations
Mechanical life Minimum 200,000 revolutions
Regulatory approvals Compliant UL, CSA, FCC, CE Mark, TUV, TUV GS, VCCI, BSMI, C-Tick, MIC

HP USB Optical Scroll Mouse

Dimensions (H x L x W) 1.5 x 4.5 x 2.5 in (3.8 x 11.6 x 6.3 cm)
Weight 0.27 lb (0.12 kg)
Cable length 72.8 in (185 cm)
System requirements Microsoft Windows 95, 98, 2000, Me, and XP
Available USB port
contents
 Overview      Configurable Components - Select Models (localized by Regions)      Standard Features and Configurable Components      After-Market Options (availability may vary by region)      Technical Specifications      Technical Specifications - Audio      Technical Specifications - Communications      Technical Specifications - Graphics      Technical Specifications - Hard Drives      Technical Specifications - Input/Output Devices      Technical Specifications - Optical Storage      Technical Specifications - Removable Storage      Technical Specifications - Environmental Data line.gif (50 bytes)

Technical Specifications - Optical Storage

SATA DVD+/-RW (DL/DF) LightScribe Drive Height 5.25-inch, half-height, tray-load
Orientation Either horizontal or vertical
Interface type SATA/ATAPI
Disc capacity 8.5 GB DL or 4.7 GB standard
Dimensions (W x H x D) 5.9 x 1.7 x 8.0 in (15.0 x 4.4 x 20.3 cm)
Weight (max) 2.6 lb (1.2 kg)  
Write speeds
DVD+R Up to 16X
DVD+RW Up to 8X
DVD+R DL Up to 8X
DVD-R DL Up to 4X
DVD-R Up to 16X
DVD-RW Up to 6X
CD-R Up to 48X
CD-RW Up to 32X
Read speeds DVD-RAM Up to 4X
DVD+RW, DVD-RW, DVD+R DL, DVD-R DL Up to 8X
DVD-ROM, DVD+R,
DVD-R
Up to 16X
CD-ROM, CD-R Up to 48X
CD-RW Up to 32X
Access time
(typical reads, including settling)
Random
DVD: < 130 ms (typical), CD: < 120 ms (typical)
Full Stroke DVD: < 240 ms (seek), CD: < 200 ms (seek)
Power Source SATA DC power receptacle
DC Power Requirement 5 VDC ± 5%-100 mV ripple p-p
12 VDC ± 5%-200 mV ripple p-p
DC Current 5 VDC (< 1000 mA typical, 1600 mA maximum)
  12 VDC (< 600 mA typical, 1400 mA maximum)
Environmental conditions (operating – non-condensing)
Temperature 41° to 122° F (5° to 50° C)
Relative Humidity 10% to 90%
Maximum Wet Bulb Temperature 86° F (30° C)

SATA DVD-ROM Drive Height 5.25-inch, half-height, tray-load
Orientation Either horizontal or vertical
Interface type SATA/ATAPI
Disc capacity Single layer: Up to 4.7 GB (6 times capacity of CD-ROM)
Double layer: Up to 8.5 GB (12 times capacity of CD-ROM)
Dimensions (W x H x D) 5.9 x 1.7 x 8.0 in (15.0 x 4.4 x 20.3 cm)
Weight (max) 2.6 lb (1.2 kg)  
Read speeds DVD+R/-R/+RW/
-RW/+R DL /-R DL
Up to 8X
DVD-ROM
Up to 16X
DVD-RAM Up to 4X
CD-ROM, CD-R Up to 48X
  CD-RW Up to 32X
Removable Storage – Media Compatibility – DVD-ROM Media Read Write
CD-ROM Yes No
CD-R Yes No
CD-RW Yes No
DVD-ROM Yes No
DVD-ROM DL Yes No
DVD-RAM Yes No
DVD+R Yes No
DVD+R DL Yes No
  DVD+RW Yes No
  DVD-R Yes No
  DVD-RW Yes No
  DVD-R DL Yes No
Access times
(typical reads, including setting)
Random
DVD: < 140 ms (typical), CD: < 125 ms (typical)
Full Stroke DVD: < 250 ms (seek), CD: < 210 ms (seek)
Cache Buffer 2 MB (minimum)
Data Transfer Modes ATA PIO mode 4 (16.7 MB/s); ATA Multi-word DMA mode 2 (16.7 MB/s); ATA UltraDMA Mode 3 (44.4 MB/s -default)
Power Source SATA DC power receptacle
DC Power Requirement 5 VDC ± 5%-100 mV ripple p-p
12 VDC ± 5%-200 mV ripple p-p
DC Current 5 VDC – <1000 mA typical, < 1600 mA maximum
12 VDC –< 600 mA typical, < 1400 mA maximum
Environmental
(all conditions
non-condensing)

Temperature 41° to 122° F (5° to 50° C)
Relative Humidity 10% to 90%
Maximum Wet Bulb Temperature 86° F (30° C)

SATA CD-RW/DVD-ROM Combo Drive Height 5.25-inch, half-height, tray-load
Orientation Either horizontal or vertical
Interface type SATA/ATAPI
Disc capacity Single layer: Up to 4.7 GB (6 times capacity of CD-ROM)
Double layer: Up to 8.5 GB (12 times capacity of CD-ROM)
Dimensions (W x H x D) 5.9 x 1.7 x 8.0 in (15.0 x 4.4 x 20.3 cm)
Weight (max) 2.6 lb (1.2 kg)  
Write speeds
CD-R Up to 48X
CD-RW Up to 32X
Read speeds DVD+R/-R/+RW/
-RW/+R DL /-R DL
Up to 8X
DVD-ROM Up to 16X
CD-ROM, CD-R Up to 48X
CD-RW Up to 32X
Access time
(typical reads, including settling)
Random
DVD: < 140 ms (typical), CD: < 125 ms (typical)
Full Stroke DVD: < 250 ms (typical), CD: < 210 ms (typical)
Power Source SATA DC power receptacle
DC Power Requirement 5 VDC ± 5%-100 mV ripple p-p
12 VDC ± 5%-200 mV ripple p-p
DC Current 5 VDC (< 1000 mA typical, < 1600 mA maximum)
  12 VDC (< 600 mA typical, < 1400 mA maximum)
Environmental (all conditions non-condensing)
Temperature 41° to 122° F (5° to 50° C)
Relative Humidity 10% to 90%
Maximum Wet Bulb Temperature 86° F (30° C)

PATA DVD+/-RW LightScribe Slim Drive Height 5.25-inch, half-height, tray-load
Orientation Either horizontal or vertical
Interface type ATAPI/EIDE
Disc recording capacity Up to 8.5 GB DL or 4.7 GB standard
Dimensions (W x H x D) 5.0 x 0.5 x 5.0 in (128 x 13.6 x 129 mm)
Weight (max) 0.42 lb (190 g)  
Write speeds
DVD+R Up to 8X
DVD+RW Up to 8X
DVD+R DL Up to 4X
DVD-R Up to 8X
DVD-RW Up to 6X
CD-R Up to 24X
CD-RW Up to 16X
Read speeds DVD+RW, DVD-RW, DVD-ROM, DVD+R,
DVD-R

Up to 8X
DVD-R DL Up to 4X
CD-ROM, CD-R Up to 24X
CD-RW Up to 24X
Access time
(typical reads, including settling)
Random
DVD: < 140 ms (typical), CD: < 125 ms (typical)
Full Stroke DVD: < 250 ms (seek), CD: < 210 ms (seek)
  Stop Time < 4 seconds
  Cache Buffer 2 MB (minimum)
  Data Transfer Modes ATA PIO mode 4 (16.7 MB/s); ATA Multi-word DMA mode 2 (16.7 MB/s); ATA UltraDMA Mode 3 (44.4 MB/s – default)
Power Source Four-pin, DC power receptacle
DC Power Requirement 5 VDC ± 5%-100 mV ripple p-p
12 VDC ± 5%-200 mV ripple p-p
DC Current 5 VDC (< 1000 mA typical, 1600 mA maximum)
  12 VDC (< 600 mA typical, 1400 mA maximum)
  Total Drive Power
(standby mode)
< 2.5 Watt
Audio output Line-Out 0.7 VRMS
  Signal-to-Noise Ratio 74 dB
  Channel Separation 65 dB
Environmental conditions (operating – non-condensing)
Temperature 41° to 122° F (5° to 50° C)
Relative Humidity 10% to 90%
Maximum Wet Bulb Temperature 86° F (30° C)

PATA CD-RW/DVD-ROM Combo Slim Drive Height 12.7mm height slim CD-RW
Orientation Either horizontal or vertical
Interface type PATA/ATAPI
Disc capacity Single layer: Up to 4.7 GB (6 times capacity of CD-ROM)
Dimensions (W x H x D) 5.0 x 0.5 x 5.0 in (128 x 13.6 x 129 mm)
Weight (max) 0.42 lb (190 g)  
Write speeds
CD-R Up to 24X
CD-RW Up to 24X
Read speeds DVD+R/-R/+RW/
-RW/+R DL /-R DL

Up to 4X
DVD-ROM Up to 8X
CD-ROM, CD-R Up to 24X
CD-RW Up to 24X
Access time
(typical reads, including settling)
Random DVD
DVD: < 140 ms (typical), CD: < 125 ms (typical)
Random CD DVD: < 250 ms (typical), CD: < 210 ms (typical)
  Cache Buffer 2 MB (minimum)
  Data Transfer Modes ATA PIO mode 4); ATA Multi-word DMA mode 2; ATA UltraDMA mode 0; ATA UltraDMA mode 1, mode 2; ATA UltraDMA Mode 3 (default)
Power Source Four-pin, DC power receptacle
DC Power Requirement 5 VDC ± 5%-100 mV ripple p-p
DC Current 5 VDC (< 1000 mA typical, < 1600 mA maximum)
  Total Drive Power
(standby mode)
< 2.5 Watt
Audio output level 0.7 Vrms (typical)  
Environmental (all conditions non-condensing)
Temperature 41° to 122° F (5° to 50° C)
Relative Humidity 5% to 85%
Maximum Wet Bulb Temperature (operating) 86° F (30° C)

PATA DVD-ROM Slim Drive Height 12.7mm
Orientation Either horizontal or vertical
Interface type PATA/ATAPI
Dimensions (W x H x D) 5.0 x 0.5 x 5.0 in (128 x 13.6 x 129 mm)
Weight (max) 0.42 lb (190 g)  
Read speeds DVD+R/-R/+RW/
-RW/+R DL /-R DL

Up to 4X
DVD-ROM Up to 8X
CD-ROM, CD-R Up to 24X
CD-RW Up to 24X
Access time
(typical reads, including settling)
Random DVD
DVD: < 140 ms (typical), CD: < 125 ms (typical)
Random CD DVD: < 250 ms (seek), CD: < 210 ms (seek)
  Data Transfer Modes ATA PIO mode 4 (16.7 MB/s); ATA Multi-word DMA mode 2 (16.7 MB/s)
Power Source Four-pin, DC power receptacle
DC Power Requirement 5 VDC ± 5%-100 mV ripple p-p
DC Current 5 VDC - <1000 mA typical, < 1600 mA maximum
  Total Drive Power
(standby mode)
< 2.5 Watt
Audio output Line-Out 0.7 VRMS
  Signal-to-Noise Ratio 74 dB
  Channel Separation 65 dB
Environmental (all conditions non-condensing)
Temperature 41° to 122° F (5° to 50° C)
Relative Humidity 5% to 85%
Maximum Wet Bulb Temperature (operating) 86° F (30° C)
contents
 Overview      Configurable Components - Select Models (localized by Regions)      Standard Features and Configurable Components      After-Market Options (availability may vary by region)      Technical Specifications      Technical Specifications - Audio      Technical Specifications - Communications      Technical Specifications - Graphics      Technical Specifications - Hard Drives      Technical Specifications - Input/Output Devices      Technical Specifications - Optical Storage      Technical Specifications - Removable Storage      Technical Specifications - Environmental Data line.gif (50 bytes)

Technical Specifications - Removable Storage

HP 16-in-1 Media Card Reader USB Interface USB 2.0 High-speed device
Advance protocol support

Supports hardware ECC (Error Correction Code) function

  • Supports hardware CRC (Cyclic Redundancy Check) function
  • Supports MS 4-bit parallel transfer mode
  • Supports MS-PRO 4-bit parallel transfer mode
  • Supports SD 4-bit parallel transfer mode
  • Supports high-speed 50-MHz SD 4-bit card (version 1.1)
  • Support high-speed 52-MHz MMC 8-bit card
Supported media type with card adapter
  • MicroSD (T-Flash)
  • Memory Stick Micro
Mechanical  
Environmental Operational Environmental Extremes Test Parameters/Conditions – Power applied, unit operating on system ±5% nominal supply voltage.
10°C 10% R.H. ≥ 24 hours
10°C 90% R.H. ≥ 24 hours
20°C 90% R.H. ≥ 24 hours
30°C 90% R.H. ≥ 24 hours
40°C 90% R.H. ≥ 24 hours
50°C 90% R.H. ≥ 24 hours
50°C 10% R.H. ≥ 24 hours
Storage Environmental Extremes Test Parameters/Conditions
60°C @ 80% R.H. for 96 hours
-30°C @ 20% R.H. for 48 hours
No power applied
Delta °C < 1.0°C/min
Delta % R.H. < 1.5% R.H./min
Approvals USB-IF, WHQL, Compliant with USB Mass Storage Class Bulk only Transport Specification Rev. 1.0, Compliant Intel Front Panel I/O Connectivity Design Guide V. 1.2
FCC, CE, BSMI, C-Tick, VCCI, MIC, cUL, TUV-T
contents
 Overview      Configurable Components - Select Models (localized by Regions)      Standard Features and Configurable Components      After-Market Options (availability may vary by region)      Technical Specifications      Technical Specifications - Audio      Technical Specifications - Communications      Technical Specifications - Graphics      Technical Specifications - Hard Drives      Technical Specifications - Input/Output Devices      Technical Specifications - Optical Storage      Technical Specifications - Removable Storage      Technical Specifications - Environmental Data line.gif (50 bytes)

Technical Specifications - Environmental Data

Eco-Label Certifications and declarations

This product has received or is in the process of being certified to the following approvals and may be labeled with one or more of these marks:

  • ENERGY STAR*
  • US Federal Energy Management Program (FEMP)
  • Taiwan Green Mark
  • China Energy Conservation Program
  • IT ECO declaration
  • EPEAT Rated – SILVER
  • Korea Eco-label
  • EPEAT
  • Japan PC Green label**

* Select configurations available for ENERGY STAR compliance.
** This product conforms to the examination standards (2003 version) under JEITA's 'PC Green Label System.'

 
Ultra-slim Desktop
 
System Configuration The configuration used for the Energy Consumption and Declared Noise Emissions data for the Ultra-slim Desktop model is based on a typically configured product.
Energy Consumption      
 
115 VAC
230 VAC
100 VAC
  Normal Operation
105.3 W
103.0 W
106.8 W
  Sleep (ENERGY STAR low power mode)
2.74 W
3.00 W
2.76 W
  Off
1.58 W
1.85 W
1.57 W
Heat Dissipation*
115 VAC
230 VAC
100 VAC
  Normal Operation
359.3 BTU/hr
351.4 BTU/hr
364.4 BTU/hr
  Sleep
9.3 BTU/hr
10.2 BTU/hr
9.4 BTU/hr
  Off
5.4 BTU/hr
6.3 BTU/hr
5.4 BTU/hr
  * Heat dissipation is calculated based on the measured watts, assuming the service level is attained for one hour.

This product is in compliance with US executive order 13221, WOL (wake on LAN) disabled.

Declared Noise Emissions
(in accordance with
ISO 7779 and ISO 9296)
     

System Fan Off
Sound Power
(LWAd, bels)
Sound Pressure
(LpAm, decibels)
 
  Idle
3.9
29
 
  Fixed Disk (random writes)
3.9
30
 
  Optical Drive (sequential reads)
4.9
40
 
Longevity and Upgrading

This product can be upgraded, possibly extending its useful life by several years. Upgradeable features and/or components contained in the product may include:

  • Intel LGA775 processor socket
  • 8 USB ports
  • 1 empty PCI full-height slot (w/ optional PCI riser card), or
    1 empty PCIe low-profile x16 slot (w/optional PCIe riser card)
  • 1 internal drive slot
  • 1 Slimline optical drive slot
  • 3 memory slots
  • 1 Serial/Parallel adapter (optional)

Spare parts are available throughout the warranty period and or for up to 5 years after the end of production.

Batteries

This product complies with ISO standards:

  • EU Directive 91/ 157/ EEC
  • EU Directive 93/ 86/ EEC
  • EU Directive 98/ 101/ EEC

Batteries used in the product do not contain:

  • Mercury greater the 5ppm by weight
  • Cadmium greater than 10ppm by weight
  • Lead greater than 4000ppm by weight.

Battery size: CR2032 (coin cell)
Battery type: Lithium

Additional Information
  • This product is in compliance with the Restrictions of Hazardous Substances (RoHS) directive – 2002/95/EC.
  • This product is in compliance with California Proposition 65 (State of California; Safe Drinking Water and Toxic Enforcement Act of 1986).
  • This HP product is designed to comply with the Waste Electrical and Electronic Equipment (WEEE) Directive – 2002/96/EC.
  • This product is in compliance with the IEEE 1680 (EPEAT) standard at the Silver level (see http://www.epeat.net)
  • Plastics parts weighing over 25 grams used in the product are marked per ISO 11469 and ISO1043.
  • This product contains 0% recycled materials (by wt.)
  • This product is 92% recyclable when properly disposed of at end of life.
  Packaging Materials Corrugated Paper 1100 g
    EPE Foam 200 g
    LDPE Bag 23 g
 
  • The EPE foam packaging material is made from 30 to 60% recycled content.
  • The corrugated paper packaging materials contains at least 80% recycled content.
 
Small Form Factor
 
System Configuration The configuration used for the Energy Consumption and Declared Noise Emissions data for the Small Form Factor Desktop model is based on a typically configured product.
Energy Consumption      
 
115 VAC
230 VAC
100 VAC
  Normal Operation
99.0 W
94.0 W
99.5 W
  Sleep (ENERGY STAR low power mode)
2.64 W
2.87 W
2.62 W
  Off
1.68 W
1.87 W
1.67 W
Heat Dissipation*
115 VAC
230 VAC
100 VAC
  Normal Operation
337.8 BTU/hr
320.7 BTU/hr
339.5 BTU/hr
  Sleep
9.0 BTU/hr
9.8 BTU/hr
8.9 BTU/hr
  Off
5.7 BTU/hr
6.4 BTU/hr
5.7 BTU/hr
  * Heat dissipation is calculated based on the measured watts, assuming the service level is attained for one hour.

This product is in compliance with US executive order 13221, WOL (wake on LAN) disabled.

Declared Noise Emissions
(in accordance with
ISO 7779 and ISO 9296)
     

System Fan Off
Sound Power
(LWAd, bels)
Sound Pressure
(LpAm, decibels)
 
  Idle
4.0
29
 
  Fixed Disk (random writes)
4.0*
29**
 
  Optical Drive (sequential reads)
5.1
41
 
    *  4.6 with 10,000 rpm hard drive
** 37 with 10,000 rpm hard drive
Longevity and Upgrading

This product can be upgraded, possibly extending its useful life by several years. Upgradeable features and/or components contained in the product may include:

  • Intel LGA775 processor socket
  • 8 USB ports
  • 2 empty PCI slots (2 low profile or 2 full-height with optional riser)
  • 1 empty PCIe x1 slot
  • 1 empty PCIe x16 slot
  • 1 internal drive bay
  • 1 SATA optical drive bay
  • 1 3.5-inch external drive bay
  • 4 memory slots
  • 1 second Serial port (optional)

Spare parts are available throughout the warranty period and or for up to 5 years after the end of production.

Batteries

This product complies with ISO standards:

  • EU Directive 91/ 157/ EEC
  • EU Directive 93/ 86/ EEC
  • EU Directive 98/ 101/ EEC

Batteries used in the product do not contain:

  • Mercury greater the 5ppm by weight
  • Cadmium greater than 10ppm by weight
  • Lead greater than 4000ppm by weight.

Battery size: CR2032 (coin cell)
Battery type: Lithium

Additional Information
  • This product is in compliance with the Restrictions of Hazardous Substances (RoHS) directive – 2002/95/EC.
  • This product is in compliance with California Proposition 65 (State of California; Safe Drinking Water and Toxic Enforcement Act of 1986).
  • This HP product is designed to comply with the Waste Electrical and Electronic Equipment (WEEE) Directive – 2002/96/EC.
  • This product is in compliance with the IEEE 1680 (EPEAT) standard at the Silver level (see http://www.epeat.net)
  • Plastics parts weighing over 25 grams used in the product are marked per ISO 11469 and ISO1043.
  • This product contains 0% recycled materials (by wt.)
  • This product is 91% recyclable when properly disposed of at end of life.
  Packaging Materials Corrugated Paper 1600 g
    EPE Foam 20 g
    LDPE Bag 52 g
 
  • The EPE foam packaging material is made from 30 to 60% recycled content.
  • The corrugated paper packaging materials contains at least 80% recycled content.
 
Convertible Minitower
 
System Configuration Processor Intel Pentium D 945 Processor
(3.4-GHz, 2x2MB L2 cache, 800-MHz FSB)
  Memory 1-GB DDR2 Synch Dram PC2-5300 (667-MHz)
  Hard Drive 80-GB SATA 3.0-Gb/s (7200 rpm)
  Optical Drive SATA DVD-ROM Drive
  Communications Integrated Intel 82566DM Gigabit Network Connection, Agere 2006 PCI 56K International SoftModem
Energy Consumption      
 
115 VAC
230 VAC
100 VAC
  Normal Operation
92.2 W
87.2 W
91.7 W
  Sleep (ENERGY STAR low power mode)
2.38 W
2.88 W
2.34 W
  Off
1.01 W
1.45 W
0.98 W
Heat Dissipation*
115 VAC
230 VAC
100 VAC
  Normal Operation
337.8 BTU/hr
320.7 BTU/hr
339.5 BTU/hr
  Sleep
9.0 BTU/hr
9.8 BTU/hr
8.9 BTU/hr
  Off
5.7 BTU/hr
6.4 BTU/hr
5.7 BTU/hr
  * Heat dissipation is calculated based on the measured watts, assuming the service level is attained for one hour.

This product is in compliance with US executive order 13221, WOL (wake on LAN) disabled.

Declared Noise Emissions
(in accordance with
ISO 7779 and ISO 9296)
     

System Fan Off
Sound Power
(LWAd, bels)
Sound Pressure
(LpAm, decibels)
 
  Idle
4.0
23
 
  Fixed Disk (random writes)
4.1*
24**
 
  Optical Drive (sequential reads)
4.9
32
 
    *  5.3 with 10,000 rpm hard drive
** 37 with 10,000 rpm hard drive
Longevity and Upgrading

This product can be upgraded, possibly extending its useful life by several years. Upgradeable features and/or components contained in the product may include:

  • Intel LGA775 processor socket
  • 8 USB ports
  • 4 empty full-height PCI slots (2 standard, 2 optional)
  • 1 empty full-height PCIe x1 slot
  • 1 empty full-height PCIe x16 slot
  • 2 internal 3.5-inch drive bays
  • 3 external 5.25-inch SATA drive bays
  • 1 external 3.5-inch drive bay
  • 4 memory slots
  • 1 second Serial port (optional)

Spare parts are available throughout the warranty period and or for up to 5 years after the end of production.

Batteries

This product complies with ISO standards:

  • EU Directive 91/ 157/ EEC
  • EU Directive 93/ 86/ EEC
  • EU Directive 98/ 101/ EEC

Batteries used in the product do not contain:

  • Mercury greater the 5ppm by weight
  • Cadmium greater than 10ppm by weight
  • Lead greater than 4000ppm by weight.

Battery size: CR2032 (coin cell)
Battery type: Lithium

Additional Information
  • This product is in compliance with the Restrictions of Hazardous Substances (RoHS) directive – 2002/95/EC.
  • This product is in compliance with California Proposition 65 (State of California; Safe Drinking Water and Toxic Enforcement Act of 1986).
  • This HP product is designed to comply with the Waste Electrical and Electronic Equipment (WEEE) Directive – 2002/96/EC.
  • This product is in compliance with the IEEE 1680 (EPEAT) standard at the Silver level (see http://www.epeat.net)
  • Plastics parts weighing over 25 grams used in the product are marked per ISO 11469 and ISO1043.
  • This product contains 0% recycled materials (by wt.)
  • This product is 97% recyclable when properly disposed of at end of life.
  Packaging Materials Corrugated Paper 1642 g
    EPE Foam 399 g
    LDPE Bag 63 g
 
  • The EPE foam packaging material is made from 30 to 60% recycled content.
  • The corrugated paper packaging materials contains at least 80% recycled content.
   
Ultra-slim Desktop, Small Form Factor, Convertible Minitower
RoHS Compliance Hewlett-Packard is committed to compliance with all applicable environmental laws and regulations, including the European Union Restriction of Hazardous Substances (RoHS) Directive. HP's goal is to exceed compliance obligations by meeting the requirements of the RoHS Directive on a worldwide basis. From July 1, 2006, RoHS substances will be virtually eliminated (virtually = to levels below legal limits) for all HP electronic products subject to the RoHS Directive, except where it is widely recognized that there is no technically feasible alternative (as indicated by an exemption under the EU RoHS Directive).
Material Usage

This product does not contain any of the following substances in excess of regulatory limits (refer to the HP General Specification for the
Environment at http://www.hp.com/hpinfo/globalcitizenship/environment/
supplychain/gen_specifications.html
):

  • Asbestos
  • Certain Azo Colorants
  • Certain Brominated Flame Retardants – may not be used as flame retardants in plastics
  • Cadmium
  • Chlorinated Hydrocarbons
  • Chlorinated Paraffins
  • Formaldehyde
  • Halogenated Diphenyl Methanes
  • Lead carbonates and sulfates
  • Lead and Lead compounds
  • Mercuric Oxide Batteries
  • Nickel – finishes must not be used on the external surface designed to be frequently handled or carried by the user.
  • Ozone Depleting Substances
  • Polybrominated Biphenyls (PBBs)
  • Polybrominated Biphenyl Ethers (PBBEs)
  • Polybrominated Biphenyl Oxides (PBBOs)
  • Polychlorinated Biphenyl (PCB)
  • Polychlorinated Terphenyls (PCT)
  • Polyvinyl Chloride (PVC) – except for wires and cables, and certain retail packaging has been voluntarily removed from most applications.
  • Radioactive Substances
  • Tributyl Tin (TBT), Triphenyl Tin (TPT), Tributyl Tin Oxide (TBTO)
Packaging

HP follows these guidelines to decrease the environmental impact of product packaging:

  • Eliminate the use of heavy metals such as lead, chromium, mercury and cadmium in packaging materials.
  • Eliminate the use of ozone-depleting substances (ODS) in packaging materials.
  • Design packaging materials for ease of disassembly.
  • Maximize the use of post-consumer recycled content materials in packaging materials.
  • Use readily recyclable packaging materials such as paper and corrugated materials.
  • Reduce size and weight of packages to improve transportation fuel efficiency.
  • Plastic packaging materials are marked according to ISO 11469 and DIN 6120 standards.
End-of-life Management and Recycling Hewlett-Packard offers end-of-life HP product return and recycling programs in many geographic areas. To recycle your product, please go to: http://www.hp.com/recycle or contact your nearest HP sales office. Products returned to HP will be recycled, recovered or disposed of in a responsible manner.

The EU WEEE directive (2002/95/EC) requires manufacturers to provide treatment information for each product type for use by treatment facilities. This information (product disassembly instructions) is posted on the Hewlett Packard web site at: http://www.hp.com/go/recyclers. These instructions may be used by recyclers and other WEEE treatment facilities as well as HP OEM customers who integrate and re-sell HP equipment.
Hewlett-Packard Corporate Environmental Information For more information about HP's commitment to the environment:
[link to new HP white paper now in progress]
Global Citizenship Report
http://www.hp.com/hpinfo/globalcitizenship/gcreport/index.html
Eco-label certifications
http://www.hp.com/hpinfo/globalcitizenship/environment/productdesign/ecolabels.html
ISO 14001 certificates:
http://www.hp.com/hpinfo/globalcitizenship/environment/operations/envmanagement.html

© Copyright 2008 Hewlett-Packard Development Company, L.P.
The information contained herein is subject to change without notice.

Intel and Pentium are U.S. registered trademarks of Intel Corporation. Microsoft and Windows are U.S. registered trademarks of Microsoft Corporation. The only warranties for HP products and services are set forth in the express warranty statements accompanying such products and services. Nothing herein should be construed as constituting an additional warranty. HP shall not be liable for technical or editorial errors or omissions contained herein.


   DA-12543 31 - Version 31 - October 29, 2008