Site hosted by Angelfire.com: Build your free website today!
Technical Information About Our Robot

L o k i

Feaurting Art by
Erik Shewan



Enlarge

Loki has wedges on all sides. The front and back sides house arms which lift out and extend. The robot is very low to the ground, which makes the wedges most effective and protects the robot from other wedges.



Enlarge

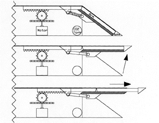
Sections of the front and back wedges rise to a horizontal position. Four pistons, two per side, are used to lift them, with CO2 supplying the pressure. Larger tanks would be used if the robot is to flip, because the arms will have to rise more quickly to lift the weight of a large robot. Once the two panels are in the horizontal postion, a centrally located motor turns a large gear, which will in turn rotate two smaller gears in opposite directions, which will slide the arms out of the lifted panels. With arms out, Loki can spin in place. By putting the arms further out, their speed is greater, making them more damaging to opponents. Unfortunately, the arms also experience higher impact forces and would be more susceptible to breaking.




Enlarge

Here's a top view of Loki. The parts dealing with the arm and its movement in and out are red. The parts which lift the arm up and down are blue. The pistons are located on either side of the arms. The arms are shaped so that they will fit together nicely with the lifted panel when retracted.


Enlarge

Loki moves with two electric motors, and has four wheel drive. A motor is located on either side of the arm motor. Each one connects to a chain or belt, which run to the wheels' independent axes. This way when one side is put in reverse and the other drives forward, Loki will spin in place, which is where the spikes come into play.